Iklan 300x250

37 troy bilt pony tiller parts diagram

Troy-Bilt Pony Tiller Operator's manual PDF View/Download View online Operator's manual for Troy-Bilt Pony Tiller or simply click Download button to examine the Troy-Bilt Pony guidelines offline on your desktop or laptop Download Operator's manual of Troy-Bilt Pony Lawn and Garden Equipment, Lawn Mower for Free or View it Online on All-Guides.com. Troy-Bilt Tillers Pony Parts with Diagrams - PartsTree Need help finding your model number? Troy-Bilt. Troy-Bilt Tillers: Pony Parts Lookup & Diagrams.

Troybilt Pony tiller | Tractor Forum I have a Troybilt Pony tiller. I do not know what model I have. The rear tine cover is missing, which typically has the There must be some subtle changes. I recommend that you study the various parts diagrams and see Here is the information on my Troy Bilt tiller engine: Briggs and Stratton engine.

Troy bilt pony tiller parts diagram

Troy bilt pony tiller parts diagram

Troy-Bilt Pony Garden Tiller, Pro-Line FRT Garden Tiller, Pony ES... View and Download Troy-Bilt Pony Garden Tiller instruction manual online. Troy-Bilt's Customer Support telephone numbers, website address and mailing address can be found on this page. ◊Visit us on the web at . See How-to Maintenance and Parts Installation Videos at... Amazon.com: troy bilt pony parts Amazon's Choicefor troy bilt pony parts. MaxPower 561548B 2-Blade Set for 42 Inch Cut MTD/Cub Cadet/Troy Bilt Replaces 42-04126, 742-04308, 742-0616 and Many Others. troy bilt tiller parts. Troy Bilt Pony Mower Steering Bushing Parts. Troy. Free Image... troy bilt tiller parts diagram is among the most pics we discovered on the web from reputable sources. We decide to talk about this troy bilt tiller parts diagram pic in this post simply because according to info coming from Google search engine, It really is one of many top queries key word on...

Troy bilt pony tiller parts diagram. Troy Bilt Parts Diagram Troy-Bilt Tillers Pony parts with OEM Troy-Bilt parts diagrams to find Troy-Bilt Tillers Pony repair parts quickly and easily. COVID-19 UPDATE: Call Center OPEN (from home) and Warehouse SHIPPING to all 50 states (with some USPS/UPS/FedEx delays) Learn more >. Troy Bilt Pony Tiller Parts Diagram - Wiring Diagram Database Narrow results clear all filters. It is easy and free. Troy Bilt Pony Tiller Parts Troy Tiller Parts Parts Manual Troy Pony... Troy-Bilt Pony Tiller | 15008 | eReplacementParts.com Troy-Bilt Tiller Parts. + − Use two fingers to move the diagram or pinch to zoom. Fig #. 1. Assm-Handlebar Obsolete - Not Available. $265.67. Part Number:GW-20928P. Troy-Bilt Parts Diagrams Use our parts diagram tool below to find the parts you need for your machine. Select the model and year, then browse the parts diagrams to find the Add to cart when you're ready to purchase and we'll ship it to you as soon as possible! Product Support & Service. Questions about your Troy-Bilt product?

Troy Bilt Pony Tiller Parts Diagram Related posts: Simple Circuit Diagram. Rj45 Ethernet Cable Wiring Diagram. Element Particle Diagram. Wiring Diagram For Dual Batteries. Motor Neuron Diagram. Posted in Diagram. Troy-Bilt Horse Parts | Troy-Bilt Bronco Tiller | PSEP.biz Whether it's Aftermarket Troy-Bilt Tiller Parts or Original Equipment Troy-bilt Tiller Parts by parts lookup diagrams, we have a very large inventory in our newly expanded 12,500+ square foot facility, and prices you will not find from anybody else. Plus our shipping is a flat rate... How to make raised beds with a Troy-bilt Pony Furrower... - YouTube ...up a used Troybilt pony tiller and along with one of these [ Hiller Furrower } attachments Underneath your troy-bilt tiller there is going to be a hole. I'm going to be making some standard looking beds. All right so then also helpful when you're working on it if you just change the tiller so that the guide... Troy-Bilt Tiller Parts | Same Day Shipping | Millions of Parts If your Troy-Bilt Tiller is broken, PartSelect.com can help. We offer over 2 million repair parts, step by step instructions and installation videos to help you complete your Troy-Bilt repair. Use your model number and get started ordering Troy-Bilt Tiller parts today!

Find great deals on eBay for troy bilt tiller parts. Shop with confidence. Related:troy bilt horse tiller parts troy bilt tiller horse troy bilt tiller gas tank troy bilt pony tiller parts troy Save troy bilt tiller parts to get e-mail alerts and updates on your eBay Feed. Shipping to: Finland. Replacement Tiller Tines for Troy-Bilt Horse Pony Big Red Econo Roto Tillers. Pony Garden Tiller - 21A-492R766 | Troy-Bilt CA | Diagrams Find parts for your Pony Garden Tiller. Parts diagrams and manuals available. Free shipping on parts orders over $45. The included front bumper protects your tiller's engine. Troy-Bilt has a limited lifetime transmission warranty on cast iron gear casting and precision cut bronze gears. Troy-Bilt Pony, Bronco & Super Bronco Mower... - TodaysMower.com Troy-Bilt is very proud of how well they are built Check out this video of the testing the riding mowers go through Operator's manuals and parts diagrams are available for free through troybilt.com. Troy-Bilt Super Bronco Lawn Tractors are a big step up from the Pony and Bronco Riding Mowers. TROY-BILT PONY OPERATOR'S MANUAL Pdf Download | ManualsLib Troy-Bilt Pony Operator's Manual. Hide thumbs Also See for Pony Tiller Troy-Bilt Pony ES Operator's Manual. Replacement Parts Component Part Number and Description 954-04091 Reverse Drive belt, 3L x 29.125 954-04090 Forward Drive Belt, 4L x 25.375 742-04223 Bolo Tine (LH)...

Troy Bilt 21AE666M766 Pony Roto-Tiller (2005) Parts Diagram ...

Troy Bilt 21AE666M766 Pony Roto-Tiller (2005) Parts Diagram ...

Troy Bilt Pony Tiller I have a Troy Bilt Pony Tiller with a 5 HP Briggs and Stratton engine. The rear sheild is missing and therefore I do not know the Model Number. I am trying to get ahold of a parts manual and/or owners manual. I need some parts, belts, the rear shield, etc. The Motor Model Number is 130292 Type...

Troy-Bilt 21A-531-081 Pony Tiller 12211 12211 Pony Tiller ...

Troy-Bilt 21A-531-081 Pony Tiller 12211 12211 Pony Tiller ...

Troy-Bilt Pony Tiller Parts Manual for sale online | eBay товар 2 Troy-Bilt PONY Roto Tiller Owners & Parts (2 Manual s) Garden-Way 1991 Composter 2 -Troy-Bilt PONY Roto Tiller Owners & Parts (2 Manual s) Garden-Way 1991 Composter. 5 598,25 RUB.

Tiller Manuals

Tiller Manuals

7 Best Troy Bilt Tillers of 2022 Most Powerful Troy Bilt Tiller: Troy-Bilt Big Red The Horse came pretty close but Big Red is the ultimate winner here. Best Tiller for Compact Soil: Troy-Bilt Pro-Line Best Tiller with Single-Speed Transmission: Troy-Bilt Pony ES Pony ES has only a single speed function in either direction, but...

Troy Bilt 21A-531-081 Pony Tiller 12211 12211 Pony Tiller ...

Troy Bilt 21A-531-081 Pony Tiller 12211 12211 Pony Tiller ...

Troy Bilt Bronco Parts Diagram - Wiring Site Resource Wiring diagram for troy bilt riding mowe panoramabypatysesma wiring diagram troy bilt lawn tractor parts list for model 13ap609g063 troybilt riding mower 11n all. Easy ordering fast shipping and great service. Enter your part number or model number to begin your parts search.

Troy Bilt Pony Tiller Parts Diagram | Pony, Troy, Tiller

Troy Bilt Pony Tiller Parts Diagram | Pony, Troy, Tiller

Troy-Bilt Pony 12211 Manual, Troy-Bilt Tiller... | Guidessimo.com 48 pages Owner's Manual for Troy-Bilt Pony 12211 Tiller, Trimmer. 25 Section 5: Maintenance WARNING Before inspecting, cleaning or servicing the unit, shut off engine, wait for all parts to come to a complete stop, disconnect spark plug wire and move wire away from spark plug.

Troy-Bilt Pony Tiller | 21A-662G766 | eReplacementParts.com

Troy-Bilt Pony Tiller | 21A-662G766 | eReplacementParts.com

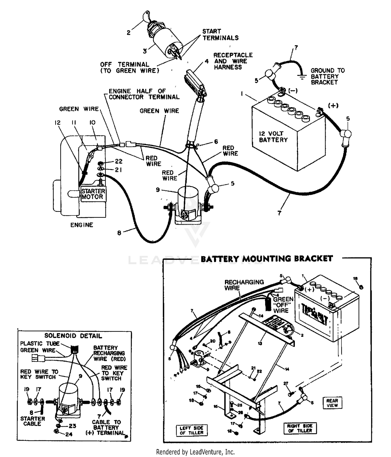
PDF A word about Safety... | Pony Model Tiller Serial Number Is The Pony Model Troy-Bilt Tiller has been designed with many safety features to protect individuals from harm. However, it is ne-cessary for the operator to closely follow operating instructions and safety practices at all times. Failure to do so could result in personal injury or property damage!

Troy-Bilt 5511 - Troy-Bilt Pony VI Rear-Tine Tiller (SN ...

Troy-Bilt 5511 - Troy-Bilt Pony VI Rear-Tine Tiller (SN ...

Troy-Bilt 664D-Pony Tiller User Manual | Manualzz Troy-Bilt LLC reserves the right to change product specifications, designs and equipment without As with any type of power equipment, carelessness or error on the part of the operator can result in 3. 5. Be careful when tilling in hard ground. The tines may catch in the ground and propel the tiller forward.

Untitled

Untitled

Troy Bilt Tiller Parts Troy Bilt Tiller Parts. Displaying 1 to 24 (of 131 products). Troy Bilt Pony Transmission Housing Part# 20593. $100.00. New Products For March - Troy Bilt Tiller Parts. Troy Bilt Tiller Bearing and Race Part# 941-3050.

12 Rear tine tiller repair. ideas | rear tine tiller, tiller ...

12 Rear tine tiller repair. ideas | rear tine tiller, tiller ...

How to Use a Troy Bilt Pony Tiller | Home Guides | SF Gate The Troy Bilt Pony tiller is equipped with forward rotating tines and a power reverse, making it so the tiller does the work rather than you. Before using your Troy Bilt Pony tiller in the garden, practice getting used to its power and versatility in a spot where it doesn't matter if you make a few mistakes.

1985 Troy Bilt Pony (5 HP) Roto Tiller Parts Catalog March 1985 on CD | eBay

1985 Troy Bilt Pony (5 HP) Roto Tiller Parts Catalog March 1985 on CD | eBay

Troy-Bilt Pony Tiller Parts Manual for sale online | eBay Find many great new & used options and get the best deals for Troy-Bilt Pony Tiller Parts Manual at the best online prices at eBay!

Troy-Bilt 13AN77BS011 Pony (2017) Drive

Troy-Bilt 13AN77BS011 Pony (2017) Drive

Troy Bilt Bronco Tiller Parts Diagram - Free Diagram For Student Garden tiller parts for your troy bilt garden tiller with help you keep digging your way to a beautiful garden. Troybilt troy bilt lawn and garden power equipment roto tillers mowers chipper shredders brush Pony Diagram Schematic Diagram. Understand The Background Of Troy Bilt Diagram...

Troybilt ECONO HORSE #E9434 AND UP rear-tine tiller parts ...

Troybilt ECONO HORSE #E9434 AND UP rear-tine tiller parts ...

PDF Troy Bilt Econo Horse Tiller Manual Find parts, manuals & diagrams for any TROYBILT Rear Tine, Gas Tiller repair Home _ ECONO HORSE #E9434 AND UP TROYBILT Rear Tine, Gas Tiller. Troy bilt tiller parts -both in genuine and quality, Fits troy bilt big red, horse, econo horse, and pony tillers fits tillers with both cast iron...

Pro-Line CRT Garden Tiller - 21D-655A766 | Troy-Bilt US

Pro-Line CRT Garden Tiller - 21D-655A766 | Troy-Bilt US

Troy Bilt Pony Mower Steering Bushing Parts. Troy. Free Image... troy bilt tiller parts diagram is among the most pics we discovered on the web from reputable sources. We decide to talk about this troy bilt tiller parts diagram pic in this post simply because according to info coming from Google search engine, It really is one of many top queries key word on...

Troy Bilt Tiller Engines And Parts Archives | FLGparts ...

Troy Bilt Tiller Engines And Parts Archives | FLGparts ...

Amazon.com: troy bilt pony parts Amazon's Choicefor troy bilt pony parts. MaxPower 561548B 2-Blade Set for 42 Inch Cut MTD/Cub Cadet/Troy Bilt Replaces 42-04126, 742-04308, 742-0616 and Many Others. troy bilt tiller parts.

Proform Gold's Gym Weslo 395 397 415 LT 14.2t Treadmill Main Wire Harness  316548

Proform Gold's Gym Weslo 395 397 415 LT 14.2t Treadmill Main Wire Harness 316548

Troy-Bilt Pony Garden Tiller, Pro-Line FRT Garden Tiller, Pony ES... View and Download Troy-Bilt Pony Garden Tiller instruction manual online. Troy-Bilt's Customer Support telephone numbers, website address and mailing address can be found on this page. ◊Visit us on the web at . See How-to Maintenance and Parts Installation Videos at...

Troy-Bilt 12181 - Troy-Bilt Pony Rear-Tine Tiller (SN ...

Troy-Bilt 12181 - Troy-Bilt Pony Rear-Tine Tiller (SN ...

Kawasaki Motorcycle 2022 OEM Parts Diagram for Engine Mount ...

Kawasaki Motorcycle 2022 OEM Parts Diagram for Engine Mount ...

I have an old troy bilt tiller think it is a pony has 5 hp ...

I have an old troy bilt tiller think it is a pony has 5 hp ...

Troy-Bilt Flex Mower Attachment Parts

Troy-Bilt Flex Mower Attachment Parts

Troy Bilt 21A-495B766 Proline FRT (2017) Parts Diagram for Handle

Troy Bilt 21A-495B766 Proline FRT (2017) Parts Diagram for Handle

Troy Bilt Pony Identification Help Please | Tractor Forum

Troy Bilt Pony Identification Help Please | Tractor Forum

Jallo | Lawson Cutters

Jallo | Lawson Cutters

Troy-Bilt Lawn Tractor | 13WX78KS211 | eReplacementParts.com

Troy-Bilt Lawn Tractor | 13WX78KS211 | eReplacementParts.com

Troy-Bilt 21AE663D266 6.5HP Elec Roto-Tiller (2007) Wheel ...

Troy-Bilt 21AE663D266 6.5HP Elec Roto-Tiller (2007) Wheel ...

Troy Bilt 21A-530-081 Pony Tiller 15008 S/N 0400101-1199999 ...

Troy Bilt 21A-530-081 Pony Tiller 15008 S/N 0400101-1199999 ...

Troybilt PONY SERIAL #S20312 AND UP rear-tine tiller parts ...

Troybilt PONY SERIAL #S20312 AND UP rear-tine tiller parts ...

Troybilt 900039 rear-tine tiller parts | Sears PartsDirect

Troybilt 900039 rear-tine tiller parts | Sears PartsDirect

15008 (21A-530-081) - Troy-Bilt Pony Rear-Tine Tiller (SN ...

15008 (21A-530-081) - Troy-Bilt Pony Rear-Tine Tiller (SN ...

TROY-BILT PONY ES OPERATOR'S MANUAL Pdf Download | ManualsLib

TROY-BILT PONY ES OPERATOR'S MANUAL Pdf Download | ManualsLib

Tiller Manuals

Tiller Manuals

Troy-Bilt 12211 - Troy-Bilt Pony Rear-Tine Tiller (SN ...

Troy-Bilt 12211 - Troy-Bilt Pony Rear-Tine Tiller (SN ...

Troy-Bilt HORSE II 8HP ROTO TILLER (S/N 1001-639999) ELECTRIC ...

Troy-Bilt HORSE II 8HP ROTO TILLER (S/N 1001-639999) ELECTRIC ...

Troy-Bilt 5511 - Troy-Bilt Pony VI Rear-Tine Tiller (SN ...

Troy-Bilt 5511 - Troy-Bilt Pony VI Rear-Tine Tiller (SN ...

TROY BILT PONY Tiller Parts Catalog/Manual 1989 $14.99 - PicClick

TROY BILT PONY Tiller Parts Catalog/Manual 1989 $14.99 - PicClick

I have a troy-bilt pony riding mower, model #13AN77TG766 ...

I have a troy-bilt pony riding mower, model #13AN77TG766 ...

Troy Bilt 21AE666M766 Pony Roto-Tiller (2005) Parts Diagram ...

Troy Bilt 21AE666M766 Pony Roto-Tiller (2005) Parts Diagram ...

Troy Bilt 21AE666M766 Pony Roto-Tiller (2005) Parts Diagram ...

Troy Bilt 21AE666M766 Pony Roto-Tiller (2005) Parts Diagram ...

0 Response to "37 troy bilt pony tiller parts diagram"

Post a Comment

Iklan Atas Artikel

Iklan Tengah Artikel 1

Iklan Tengah Artikel 2

Iklan Bawah Artikel