35 john deere la110 parts diagram
Amazon.com: john deere l110 parts 1-16 of over 1,000 results for "john deere l110 parts" Amazon's Choice for john deere l110 parts John Deere Maintenance Kit L110, LT160, LX266, GT225 Sabre 17.54HS (2002) Scotts L17.542 LG240 49+ John Deere La110 Parts Diagram Gif - Wiringdiagram.my.id August 14, 2021 by. 49+ John Deere La110 Parts Diagram. Gif. Front wheel bearing replacement update if you are having repeat failure of the front wheel bushings. Search part numbers and john deere parts diagrams to identify exactly what you need to keep your equipment running smoothly.
John Deere 42" LA100 LA110 LA120 Deck Parts Diagram John Deere LA100, LA110, LA130 42" Decks parts diagram. OEM John Deere Parts with heat mapped diagrams
John deere la110 parts diagram
John Deere Parts | Parts & Services | John Deere Australia Australian and New Zealand Distribution Centre (ANZDC) The Australian and New Zealand Distribution Centre (ANZDC) is an integral part of John Deere's world-wide parts distribution network and has the primary & essential responsibility to support John Deere's extensive network of Agricultural, Construction, Turf, Forestry and Power Systems dealers across Australia and New Zealand, 24 hours ... PDF John Deere La110 Mower Parts Manual - search.mpja.com John Deere LA110 Parts. The John Deere LA110 was produced in 2007 and came equipped with a hydrostatic drive transmission, 42" Mower Deck and 19.5hp Briggs Engine. Regular Maintenance should be performed on the LA110 every 50 hours and should include Spark Plug, Air Filter, Oil Filter with 1.5qts oil and sharpen or replace mower blades. 29 ... PDF John Deere La110 Mower Parts Manual - cars.statesman.com John Deere LA110 Parts. The John Deere LA110 was produced in 2007 and came equipped with a hydrostatic drive transmission, 42" Mower Deck and 19.5hp Briggs Engine. Regular Maintenance should be performed on the LA110 every 50 hours and should include Spark Plug, Air Filter, Oil Filter with 1.5qts oil and sharpen or replace mower blades. 29 ...
John deere la110 parts diagram. John Deere L110 Parts Diagrams - Lawn Mower Parts John Deere L110 Parts Diagrams. Parts Lookup - Enter a part number or partial description to search for parts within this model. There are (2) parts used by this model. Universal Yellow Medium Back 15 1/2" (395mm) equipment seat, Plastic Pan 17 3/4" (450mm) wide, with Drain, multiple threaded mounting holes. John Deere LA110 Lawn Tractor Maintenance Guide & Parts List Service Schedule Parts for a John Deere LA110 Lawn Tractor & Parts List. While your John Deere machine is certainly built with quality parts, they have a limited life. Good news is you can easily service your machine yourself using a John Deere maintenance kit or service kits or by getting the specific John Deere part needed to keep your John Deere mower or tractor running for a long time. John Deere Parts Diagrams, John Deere L110 Lawn Tractor (With ... Mar 24, 2022 · Buy Genuine OEM John Deere parts for your John Deere L110 Lawn Tractor (With 42-IN Mower Deck) Material Collection System -PC9289 and ship today! Huge in-stock inventory of OEM John Deere parts. John Deere Parts Diagrams, John Deere LA110 Tractor (With 42 ... Mar 24, 2022 · John Deere Parts Diagrams, John Deere LA110 Tractor (With 42-IN Mower Deck) -PC9631. AIR CLEANER: FUEL & AIR. Alternator,Ignition: ELECTRICAL. Attachment,Snow Blade,46 inch: Blade 46" 1,17M. AUGER & GEARBOX: Snowblower 42" 1,07 M.
L110 John Deere Parts Diagram | Automotive Parts Diagram ... Description: John Deere La150 Lawn Tractor Parts throughout L110 John Deere Parts Diagram, image size 600 X 600 px, and to view image details please click the image.. Truly, we have been remarked that l110 john deere parts diagram is being one of the most popular issue right now. So that we attempted to find some terrific l110 john deere parts diagram graphic for you. John Deere Model LA110 Lawn Tractor Parts - GreenPartStore John Deere Model LA110 Lawn Tractor Parts - Product Identification number (serial number) is located on the left side of the rear frame. Front Wheel B John Deere Complete 42″ Mower Deck ... - Tractor Parts Shop John Deere Complete 42″ Mower Deck for LA105, LA115, LA125, L100,L110, and More. New 42 complete mower deck, part number BG20814. This deck has been through several part # changes. It started out as a BG20261, then BG20373, Then BG20471, then BG20696, then BG20705 and finally to BG20814. These are all the same decks and the BG20814 will ... John Deere Manual | Service,and technical Manuals PDF John Deere F510 and F525 Residential Front Mowers Repair Manual.pdf. John Deere K Series Air-Cooled Engines Workshop Manual.pdf. John Deere 4420 Service Manual.pdf. John Deere 6059T Engine Service Repair Manual.pdf. John Deere 4,5L & 6.8L Diesel Engine Workshop Manual.pdf. John Deere 30294039, 40456059, 6068 Engines (Saran) ( -499999CD) Service ...
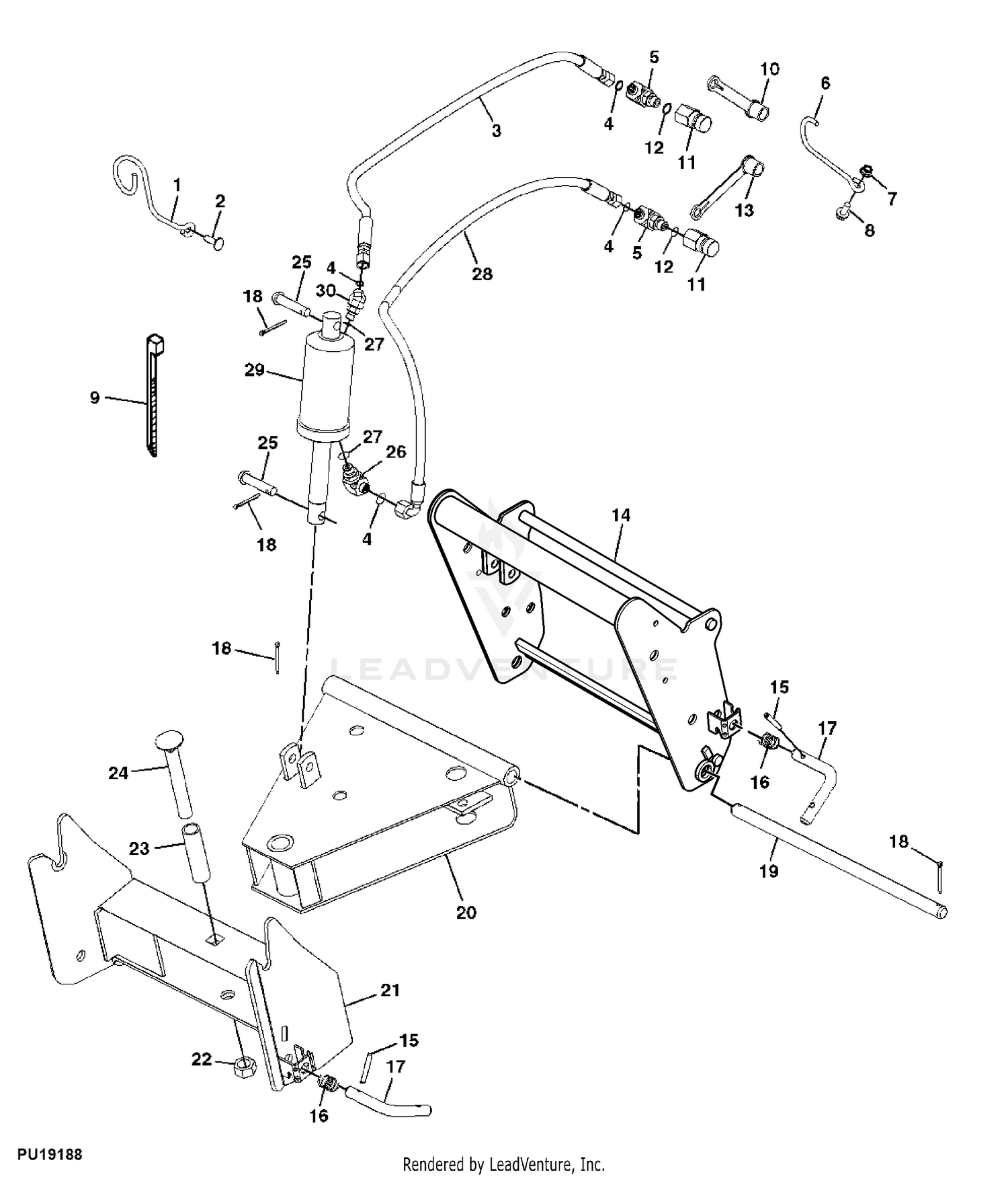
partscatalog.deere.com Find parts & diagrams for your John Deere equipment. Search our parts catalog, order parts online or contact your John Deere dealer. John Deere Parts Diagram & Parts Search • John Deere Parts ... John Deere AG, Lawn & Garden and CWP Equipment Parts Search. John Deere parts lookup tool and diagram is an incredible online source. It is a complete catalog that shows you detailed parts diagrams of every part of your machine. This online parts catalog is robust and easy to use. Searching for your John Deere parts online has never been easier. 42-inch Mower Deck Parts for LA110 - Parts for John Deere ... John Deere Accessories and Other Parts; John Deere Attachments; John Deere Lawn and Garden Tractor Parts; John Deere Lawn Tractor Parts; John Deere Zero Turn Mower Parts; ... Click here for 42-inch Mower Deck Parts for LA110. Products [51] Sort by: 1 2 Next Page View All. Quick View. John Deere 42-inch Mower Deck Drive Belt and Idler Kit ... John Deere LA110 Lawn Tractor Parts - Mutton Power John Deere LA110 Parts. The John Deere LA110 was produced in 2007 and came equipped with a hydrostatic drive transmission, 42" Mower Deck and 19.5hp Briggs Engine. Regular Maintenance should be performed on the LA110 every 50 hours and should include Spark Plug, Air Filter, Oil Filter with 1.5qts oil and sharpen or replace mower blades. 29 items.
John Deere L100 Parts Diagram | Automotive Parts Diagram ... Description: John Deere La145 Lawn Tractor Parts pertaining to John Deere L100 Parts Diagram, image size 410 X 410 px, and to view image details please click the image.. Actually, we also have been remarked that john deere l100 parts diagram is being one of the most popular field at this moment. So that we attempted to locate some great john deere l100 parts diagram photo for you.
PDF John Deere L110 Parts Manual - cropover.nationnews.com John Deere L110 Lawn Tractor Parts - Quick Parts Reference ... Description: John Deere La150 Lawn Tractor Parts throughout L110 John Deere Parts Diagram, image size 600 X 600 px, and to view image details please click the image.. Truly, we have been remarked that l110 john deere parts diagram is being one of the most popular issue right now. So
John Deere LA110 Parts Diagrams - Jacks Small Engines John Deere LA110 Parts Diagrams. 3+ Million Parts. 365 Day Returns. Fast 2-4 Day Shipping. Order Status. Get Support. 1-877-737-2787. Hourse of Operation. M-F 9a-6p ET.
ARIMain - WEINGARTZ Find parts for your john deere starter: electrical with our free parts lookup tool! Search easy-to-use diagrams and enjoy same-day shipping on standard John Deere parts orders. 855-669-7278 ... John Deere LA110 Tractor (With 42-IN Mower Deck) -PC9631 STARTER: ELECTRICAL Zoom
John Deere L110 Electrical Schematic - Wiring Diagram Line John Deere L110 Electrical Schematic Wiring Diagram Line Wiring Diagram ... after being fired then turned off quora 586d king forklift 84 88 106 backup alarm shuttle pressure actuated la100 la110 la120 48 pc2317 lx178 lx188 maintenance guide list toyota fj cruiser tractordata com l g belt routing lawnmower receiver 9533060a50 suzuki partsouq ...
TractorData.com John Deere LA110 tractor information John Deere LA110 tractor overview. LA110 Serial Numbers: Location: Serial number decal under the rear fender on the left side of the tractor.
John Deere LA110 Lawn Tractor Parts - Quick Parts Reference Guide This quick parts reference guide will provide you with the most common John Deere LA110 Lawn Tractor Parts 42 Mower Deck. These John Deere Lawn Tractor Parts may include: Tune Up Kit, Spark Plug, Mower Blades, Traction Drive Belt, Transmission Belt, Mower Drive Belt, Battery, and Air Filters.
John deere 110 parts manual pdf - Canada manuals Working ... 1973 John Deere 110 Parts Manual This is an operator's manual for a John Deere 400 Series Universal Rotary Hoes. Published 1973, by the John Deere Equipment Company. john deere 110 parts diagram - here you are at our website. Today we are excited to announce that we have found an extremely interesting content to be pointed out
John Deere LA110 garden tractor: review and specs ... The John Deere LA110 is a lawn and garden tractor from the John Deere LA100-series. The John Deere LA110 lawn tractor was produced at the factory in Greeneville, Tennessee, USA in 2007. The John Deere LA110 garden tractor used an air-cooled single-cylinder four-stroke Briggs & Stratton 31 gasoline engine with vertical PTO-shaft.
John Deere Parts at Jack's Find all the John Deere Parts and Accessories you need, with fast shipping and low prices! ... 3+ Million Parts 365 Day Returns Fast 2-4 Day Shipping Order Status. Get Support 1-877-737-2787 Hours of Operation. M-F 9AM-6PM ET Sat 9AM-5PM ET Sun 11AM-5PM ET ... See: Ariens exploded parts diagrams ...
Amazon.com: john deere la110 parts 1-16 of over 1,000 results for "john deere la110 parts" Amazon's Choice for john deere la110 parts. John Deere Original Equipment Filter Kit #LG253. 4.8 out of 5 stars 886. $43.77 $ 43. 77 $50.99 $50.99. Get it Wed, Jan 12 - Fri, Jan 14. FREE Shipping. Only 1 left in stock - order soon.
PDF John Deere La110 Mower Parts Manual - cars.statesman.com John Deere LA110 Parts. The John Deere LA110 was produced in 2007 and came equipped with a hydrostatic drive transmission, 42" Mower Deck and 19.5hp Briggs Engine. Regular Maintenance should be performed on the LA110 every 50 hours and should include Spark Plug, Air Filter, Oil Filter with 1.5qts oil and sharpen or replace mower blades. 29 ...
PDF John Deere La110 Mower Parts Manual - search.mpja.com John Deere LA110 Parts. The John Deere LA110 was produced in 2007 and came equipped with a hydrostatic drive transmission, 42" Mower Deck and 19.5hp Briggs Engine. Regular Maintenance should be performed on the LA110 every 50 hours and should include Spark Plug, Air Filter, Oil Filter with 1.5qts oil and sharpen or replace mower blades. 29 ...
John Deere Parts | Parts & Services | John Deere Australia Australian and New Zealand Distribution Centre (ANZDC) The Australian and New Zealand Distribution Centre (ANZDC) is an integral part of John Deere's world-wide parts distribution network and has the primary & essential responsibility to support John Deere's extensive network of Agricultural, Construction, Turf, Forestry and Power Systems dealers across Australia and New Zealand, 24 hours ...

0 Response to "35 john deere la110 parts diagram"
Post a Comment