Iklan 300x250

35 john deere gt235 drive belt diagram

John Deere Parts Diagrams, John Deere GT225 Garden Tractor ... John Deere Parts Diagrams, John Deere GT225 Garden Tractor (With 42-IN Convertible Mower Deck) -PC2720 AIR FILTER ENGINE MARKED CV460S-26511: FUEL & AIR Air Filter,Engine CV15S-41571: FUEL & AIR John Deere Parts Diagrams, John Deere GT235 Lawn & Garden ... Mar 24, 2022 · Buy Genuine OEM John Deere parts for your John Deere GT235 Lawn & Garden Tractor (Hydro) (With 54-IN Mower Deck) -PC2721 and ship today! Huge in-stock inventory of OEM John Deere parts.

TractorData.com John Deere GT245 tractor information GT Series Lawn & Garden Tractors published in 2002, by John Deere: G, GT and GX Series Garden Tractors published in 2003, by John Deere: Premium Lawn and Garden Tractors published in 2004, by John Deere: Page information: Contact: Peter Easterlund: Updated on January 22, 2021:

John deere gt235 drive belt diagram

John deere gt235 drive belt diagram

John Deere GT235 - Tractor Specs The John Deere GT235 is a 2WD lawn and garden tractor from the GT200 series. This tractor was manufactured by the John Deere in Horicon, Wisconsin, USA from 1999 to 2005. John Deere GT275 drive belt diagram for installation. The drive belt broke. I have a John Deere LT-155 lawn tractor. The drive belt broke and I am looking for a diagram that shows how the belt is correctly installed. … read more. J.R. Vocational, Technical or Trade Scho. 209 satisfied customers. this is about a john deere lawn mower (tractor mower), it cranks. Amazon.com: John Deere Gt235 Belt Replacement 8TEN Secondary Drive Belt for John Deere LX277 LX2800 LX255 GT235 335 345 LX266 M154958 M110313 48 inch Deck 71 $20 95 $39.99 Get it as soon as Thu, Feb 17 FREE Shipping on orders over $25 shipped by Amazon Only 1 left in stock - order soon. John Deere OEM M154958 Secondary Deck Drive Belt Fits X300 X320 X360 X500 X520 X540 GX255 GX325 GX335 GX355

John deere gt235 drive belt diagram. Belt diagram for a john deere gt 235? - Answers Removing the front tire from the John Deere GT-235 involves lifting the vehicle with a jacking device, and removing the upper mounts holding the tire assembly. Now the tire can be removed. Wiring Diagram John Deere Gt235 - Wiring Diagram Wiring diagram john deere gt235 ref. The wiring diagram on the opposite hand is particularly beneficial to an outside electrician. Using your operators manual this manual is an important part of your machine and should remain with the machine when you sell it. Sometimes wiring diagram may also refer to the architectural wiring program. Deere 185 Hydro drive belt replacement diagram - Houzz Deere 185 Hydro drive belt replacement diagram. onejumpjohnny. 15 years ago. This could very well be considered by some John Deere owners to be the "holy grail"! This single diagram saved the life of my 18 y/o Deere..... (for now!) Please enjoy!-johnny. Image link: John Deere GT262 Parts Diagrams - Jacks Small Engines Found on Diagram: Seats and other Components 30100037 SEAT Universal Yellow High Back 18" (476mm) equipment seat, Plastic Pan 17 3/4" (450mm) wide, with Drain, multiple threaded mounting holes.

John Deere GT262 Garden Tractor Maintenance Guide & Parts List Service Schedule Parts for a John Deere GT262 Garden Tractor & Parts List. While your John Deere machine is certainly built with quality parts, they have a limited life. Good news is you can easily service your machine yourself using a John Deere maintenance kit or service kits or by getting the specific John Deere part needed to keep your John Deere mower or tractor running for a long time. John deer gt235 drive belt replacement - Garden - Fixya Instructions for changing main drive belt on John Deere model 265 ... How to remove headlight assembly from a John Deere GT235. Visit the on-line store, ... How to change the main transmission belt/drive belt on a ... I simplify the task of changing the main drive belt on a John Deere tractor/transmission belt on a John Deere tractor.The particular tractor is how to change... 48C mower deck parts for GT235 - John Deere Parts and More 48C mower deck parts for GT235. ... John Deere Mower Deck Drive Belt Tightener Pulley - AM133924 (8) $118.96. Usually available. Add to Cart. Quick View. John Deere Mower Deck Front Roller Shaft - M111134 (4) $17.57. Usually available.

John Deere Model GT235 Lawn and Garden Tractor Parts Click here for 54 mower deck parts for GT235. Click here for 2 Bag Rear Bagger Parts for GT235. Click here for 3 Bag Rear Bagger Parts for GT235. Click here for 42-inch Snow Thrower Parts for GT235. Click here for 44-inch Front Blade Parts for GT235. Click here for 48-inch Front Blade Parts for GT235. Click here for 30-inch Mechanical Drive ... John Deere V-BELT N31437 John Deere Parts Catalog V-BELT Part Number N31437 Description V-Belt - BELT FAN GEAR CASE DRIVE Shipping Information Package Weight 1.82 LBS Alternative Parts V-BELT Part Number A-C87 Select Dealer to See Price and Availability Quantity Add to Cart Alternative parts may offer an economical repair option for your equipment. Mower belt diagram for a john deere gt235 48 inch deck - Fixya mower belt diagram for a john deere gt235 48 inch deck belt route for a gt235 ... for pictures and descriptions of drive belt and deck belt on John Deere ... John Deere GT245 Lawn Tractor Parts - Quick Parts ... These John Deere Lawn Tractor Parts may include: Tune Up Kit, Spark Plug, Mower Blades, Traction Drive Belt, Transmission Belt, Mower Drive Belt, Battery, and Air Filters. If you need help finding John Deere Lawn Tractor Parts Search Using Weingartz Illustrated Diagrams to view an illustrated diagram or call us at 1-855-669-7278.

John Deere Mower Decks & MCS (LX255,LX266,LX277,LX279,LX288 ...

John Deere Mower Decks & MCS (LX255,LX266,LX277,LX279,LX288 ...

John Deere Lawn & Garden Belt Routing Guide John Deere Lawn & Garden Belt Routing Guide All Images Belong to John Deere Document Created By: jd2007 MyTractorForum.com X700, X720, X724, X728, X729 * These machines are shaft driven therefore they have no traction drive belt. 48" Deck *54" Convertible Deck, 62" Convertible Deck, & 60" Drive-Over Belts Are Routed The Same

GX255 - ATTACHMENT, MOWER DECKS, FRONT BLADE, POWER FLOW ...

GX255 - ATTACHMENT, MOWER DECKS, FRONT BLADE, POWER FLOW ...

Holes In My Jeans: John Deere GT235 idler arm tension spring This is where I hit myself in the forehead and say, "wow, I could've had a V8". Maybe you know what I mean. Of course, the answer was obvious. Google it. I did. I typed in John Deere GT235 won't go forward and came to a few forums. On one of them someone mentioned the idler arm tension spring.

drive belt diagram x304 | My Tractor Forum

drive belt diagram x304 | My Tractor Forum

John Deere GT225 GT235 GT245 Drive Belt Replacement - YouTube Replacing the engine pulley to transmission pulley drove belt on one of America's beloved Garden Tractors

John Deere GT235 (54C Deck) Riding Lawn Mower Replacement Belt

John Deere GT235 (54C Deck) Riding Lawn Mower Replacement Belt

GT235 drive belt replacement fun | My Tractor Forum 1 May 2016 — So I just looked up the belt drive and idler in the Deere parts catalog and it does not show any such spring.....I really think you do have ...

8TEN Secondary Drive Belt for John Deere M154958 M110313 48 ...

8TEN Secondary Drive Belt for John Deere M154958 M110313 48 ...

TractorData.com John Deere GT235 tractor information Production: Manufacturer: John Deere Type: Garden tractor Factory: Horicon, Wisconsin, USA Original price: $5,149 (2002 ) The GT235E variant, built in 2002 and 2003, offered an on-board generator system that provided continuous 1000 Watt power at 120 volts.

How do I change the drive belt on a Deere 175 Hydro lawn ...

How do I change the drive belt on a Deere 175 Hydro lawn ...

Diagram for replacement of drive belt for GT235 John Deere diagram for replacement of drive belt for GT235 John Deere - Garden ... Instructions for changing main drive belt on John Deere model 265

Installation, Repair and Replacement of John Deere LX266 ...

Installation, Repair and Replacement of John Deere LX266 ...

Amazon.com : 8TEN Drive Belt for John Deere GT225 GT235 ... This item: 8TEN Drive Belt for John Deere GT225 GT235 GT245 GX255 Lawn Tractors M127523. $26.01. Only 5 left in stock - order soon. Ships from and sold by AVVS partners. FREE Shipping. 8TEN Gen 3 Electric PTO Clutch for John Deere Warner Husqvarna GT235 GT225 AM126100 5219-1 5219-108 505287301 287301.

1971 John Deere 7020 4WD tractor in Higginsville, MO | Item ...

1971 John Deere 7020 4WD tractor in Higginsville, MO | Item ...

John Deere GT225 Lawn Tractor Parts - Weingartz These John Deere Lawn Tractor Parts may include: Tune Up Kit, Spark Plug, Mower Blades, Traction Drive Belt, Transmission Belt, Mower Drive Belt, Battery, and Air Filters. If you need help finding John Deere Lawn Tractor Parts Search Using Weingartz Illustrated Diagrams to view an illustrated diagram or call us at 1-855-669-7278.

How to Change the Traction Belt on a John Deere LT155 : 8 ...

How to Change the Traction Belt on a John Deere LT155 : 8 ...

Diagram to install belt on john deere 54" deck mower Belt replacement diagram for john deere mod 68 rid. Mower [ 1 Answers ] Can anyone show me a diagram of the deck drive belt (blade drive) on a John Deere model 68 riding mower 30 in. deck? I choked it up and it broke the belt.

Installation, Repair and Replacement of John Deere LX266 ...

Installation, Repair and Replacement of John Deere LX266 ...

GT235 Drive Belt Replacement - SSB Tractor Should only be 2 belts. One for the deck blades and one for the blade clutch. Both of those are controlled by the arm on the deck. By pulling the arm back you'll see that the main drive pully on the deck moves in providing the slack to take the top belt off. John U: There is a drive belt, as I am having the same issue on trying to change mine.

John Deere GT245 Garden Tractor Maintenance Guide & Parts List

John Deere GT245 Garden Tractor Maintenance Guide & Parts List

Does anyone have a belt diagram for a john deere gt262 ... The John Deere 48 mower deck belt pattern diagram can be obtained from most John Deere dealerships. Many times when you purchase the belt the parts store will give you a belt pattern diagram.

Repair Tip

Repair Tip "Mower belt diagrams 2" - Fixya

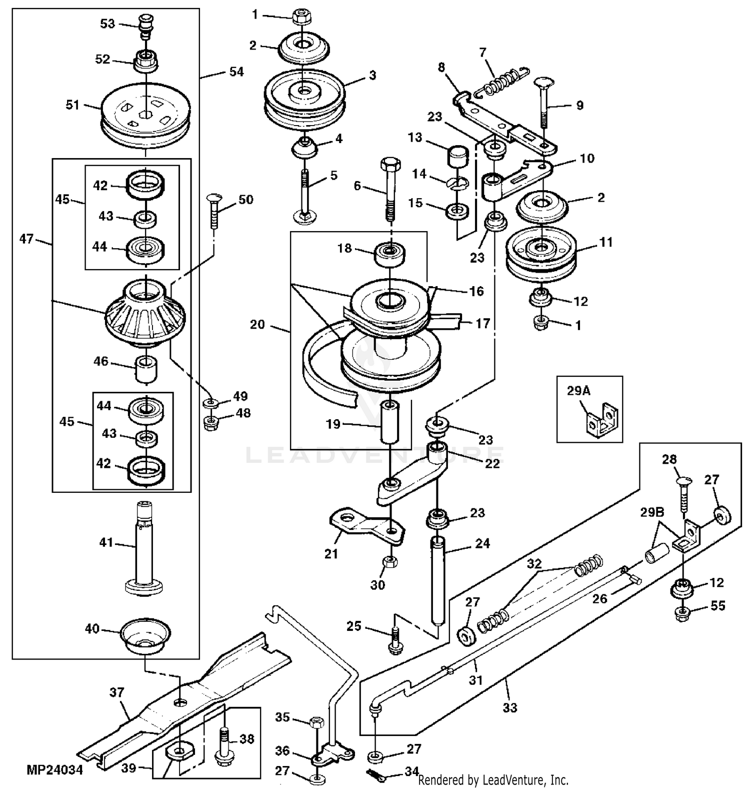
John Deere GT235 Belts Parts Diagram - Jacks Small Engines John Deere GT235 Belts Parts Diagram SWIPE SWIPE. Belts; Electrical Components; Filters; Hitch and Implement Components; Seats and other Components; GT235 Belts Move JavaScript Disabled - Unable to show Cart. 1. 30192501. BELT 5/8" by 63 3/8" $221.76 Add to Cart. 2 ...

GT225 - Outdoor Power Belts - Replacement Parts - The Home Depot

GT225 - Outdoor Power Belts - Replacement Parts - The Home Depot

John deere gt 235 belt diagram - Fixya It appears there are two belts for your mower. The primary belt is JD part M143019 and secondary is M118685. Your traction drive belt is p/n M127523. The ...

John Deere L&G Belt Routing Guide | My Lawnmower Forum

John Deere L&G Belt Routing Guide | My Lawnmower Forum

Replace the belt on mower deck of GT235. - Ask Me Help Desk Replace the belt on mower deck of GT235. Replace the belt on mower deck of GT235. I need a diagram to replace the belt on our John Deere GT235. You did not say which deck, I gather it is the secondary deck belt. At any rate here are the photos:

Pin on fix it list

Pin on fix it list

How to replace the traction drive belt on a john deere gt235 how to replace the traction drive belt on a john deere gt235 - John Deere ... clear picture of the routing and configuration of the belt as it should go on, ...

We have a deere garden tractor. Ca130. The belt come off can ...

We have a deere garden tractor. Ca130. The belt come off can ...

John Deere GT235 Garden Tractor ... - Green Farm Parts Service Schedule Parts for a John Deere GT235 Garden Tractor & Parts List. While your John Deere machine is certainly built with quality parts, they have a limited life. Good news is you can easily service your machine yourself using a John Deere maintenance kit or service kits or by getting the specific John Deere part needed to keep your John Deere mower or tractor running for a long time.

M127523 John Deere OEM Drive Belt for sale online | eBay

M127523 John Deere OEM Drive Belt for sale online | eBay

John Deere GT235 Garden Tractor Parts - Mutton Power John Deere GT235 Parts. The John Deere GT235 was produced from 1999 to 2005 and was available as GT235E with 1000 watt onboard generator. It came equipped with a hydrostatic drive transmission, 48" Mower Deck and 18hp Kawasaki Engine (18hp Briggs and Stratton starting with SN 090000).

Gear Traction Drive Belt ...

Gear Traction Drive Belt ...

Amazon.com: John Deere Gt235 Belt Replacement 8TEN Secondary Drive Belt for John Deere LX277 LX2800 LX255 GT235 335 345 LX266 M154958 M110313 48 inch Deck 71 $20 95 $39.99 Get it as soon as Thu, Feb 17 FREE Shipping on orders over $25 shipped by Amazon Only 1 left in stock - order soon. John Deere OEM M154958 Secondary Deck Drive Belt Fits X300 X320 X360 X500 X520 X540 GX255 GX325 GX335 GX355

AM133924 - Pulley fits John Deere | AFTERMARKET.SUPPLY

AM133924 - Pulley fits John Deere | AFTERMARKET.SUPPLY

John Deere GT275 drive belt diagram for installation. The drive belt broke. I have a John Deere LT-155 lawn tractor. The drive belt broke and I am looking for a diagram that shows how the belt is correctly installed. … read more. J.R. Vocational, Technical or Trade Scho. 209 satisfied customers. this is about a john deere lawn mower (tractor mower), it cranks.

John Deere GT235 Deck Drive Issue | My Tractor Forum

John Deere GT235 Deck Drive Issue | My Tractor Forum

John Deere GT235 - Tractor Specs The John Deere GT235 is a 2WD lawn and garden tractor from the GT200 series. This tractor was manufactured by the John Deere in Horicon, Wisconsin, USA from 1999 to 2005.

GT235 drive belt replacement fun | My Tractor Forum

GT235 drive belt replacement fun | My Tractor Forum

JOHN DEERE 54C - Lot #GN6593, Agricultural Equipment ...

JOHN DEERE 54C - Lot #GN6593, Agricultural Equipment ...

Cub Cadet XT2-LX42 KW Tractor (2015) (Carb) 13WGA1CS210 (2015 ...

Cub Cadet XT2-LX42 KW Tractor (2015) (Carb) 13WGA1CS210 (2015 ...

John Deere Mower Decks & MCS (LX255,LX266,LX277,LX279,LX288 ...

John Deere Mower Decks & MCS (LX255,LX266,LX277,LX279,LX288 ...

Changing Transmission Drive Belt and Pulley on John Deere GX ...

Changing Transmission Drive Belt and Pulley on John Deere GX ...

How Do I Remove GT235 PTO Clutch? | My Tractor Forum

How Do I Remove GT235 PTO Clutch? | My Tractor Forum

model 39 mower deck on 112h | Weekend Freedom Machines

model 39 mower deck on 112h | Weekend Freedom Machines

John Deere Primary Deck Drive Belt For 300, GT, GX, and LX Series with 38

John Deere Primary Deck Drive Belt For 300, GT, GX, and LX Series with 38

GENUINE JOHN DEERE Mower Deck Secondary Drive Belt M170986 ...

GENUINE JOHN DEERE Mower Deck Secondary Drive Belt M170986 ...

John Deere Belts

John Deere Belts

John Deere M72112 V-Belt

John Deere M72112 V-Belt

Installation, Repair and Replacement of John Deere LX266 ...

Installation, Repair and Replacement of John Deere LX266 ...

John Deere Mower Decks & MCS (LX255,LX266,LX277,LX279,LX288 ...

John Deere Mower Decks & MCS (LX255,LX266,LX277,LX279,LX288 ...

X350 Owner Information | Parts & Service | John Deere US

X350 Owner Information | Parts & Service | John Deere US

John Deere Mower Decks & MCS (LX255,LX266,LX277,LX279,LX288 ...

John Deere Mower Decks & MCS (LX255,LX266,LX277,LX279,LX288 ...

0 Response to "35 john deere gt235 drive belt diagram"

Post a Comment

Iklan Atas Artikel

Iklan Tengah Artikel 1

Iklan Tengah Artikel 2

Iklan Bawah Artikel