35 omc cobra lower unit diagram
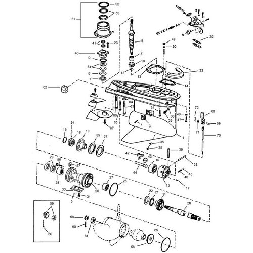
Sterndrive Engineering: OMC Cobra® 1986-1993 Lower Unit ... OMC Cobra® 1986-1993 Lower Unit Replacements. OMC Cobra® 1986-1993 Lower Unit Replacements. Cobra Sterndrive Parts; Upper (1986-1993) OMC Cobra Lower; I4 | V6 4.3L, 5.0L, 5.7L, 5.8L Gearcase (1986-1993) Cobra Conversion Kit (1986-1993) Company Quick Links . Forum; About SEI; Become a Dealer; Technical; OMC Lower Unit Parts Diagram - Gears OMC Lower Unit Parts Diagram - Gears. Cobra outdrive gearcase breakdown diagram with gears. GLM Marine aftermarket pinion, forward and reverse gears; ... OMC Cobra lower gearcase parts layout. Click on Picture. Description. Price (USD) Price (Canadian) 22631 Forward and pinion gear set . 30B
OMC Cobra sterndrive lower unit parts drawing 87655 OMC lower gearcase seal kit 4 cylinder 2.3 liter. 87655 Lower gearcase seal kit for 2.3 liter outdrives. # 87655 $33.99 US. # 87655 $43.99 CDN. 87656. 87656 Lower gearcase OMC Cobra seal kit V6 with 4.3 liter V8 5.0, 5.7, 5.8 liter OMC sterndrives. # 87656 $61.99 US.

Omc cobra lower unit diagram
omc 2.3l ford cobra stern drive diagram - Wiring Diagram Line omc 2.3l ford cobra stern drive diagram Wiring Diagram Line Wiring Diagram. omc 2.3l ford cobra stern drive diagram Wiring Diagram Line Wiring Diagram ... Omc stern drive transom mount parts for 1990 3 0l 302amrpwc clymer cobra 1986 1993 boat engine repair manual lower unit assembly kit 1 86 glm28860 899 00 ebasicpower com marine fishing tackle ... 88 OMC Cobra Water Pump (Impeller) Flow From Housing This is an OMC Cobra outdrive. I took this video to show the water flow from the lower unit to the water pump / impeller housing without the engine running. This is an OMC Cobra outdrive. GLM Marine Aftermarket OMC Cobra Sterndrive Parts and ... King Cobra: trim / tilt cylinder used, gimbal bearing, water pump, lower unit, upper gears, lower gear sets, anodes, bolts, exhaust bellows, u-joint bellows, water pump adapter, plastic-metal shims Lower unit : stern drive anode, drive shaft, pinion bearings, forward - reverse gears, pinion gear, shims, propeller shaft
Omc cobra lower unit diagram. OMC Cobra lower unit rebuild parts help - sterndrive 16330 OMC Cobra 800 lower unit thrust bearing. Item 26 P/N 16330 Thrust bearing OEM 387656 Required for shimming drive shaft and pinion gear. part number 0987670. 22623 gear set 987670. Item 30 OEM P/N 987670 Original Cobra parts pinion gear, nut and forward gear set included in kit for V8 Chevy / Ford motors. GLM Marine P/N 22623 Forward ... 1988 Stern Drive 2.3 [232AMRGDE] - Parts ... - Crowley Marine View parts diagrams and shop online for 232AMRGDE : 1988 Stern Drive 2.3. Offering discount prices on OEM parts for over 50 years. FAST $4.95 shipping available. PDF Alpha One Outdrive Diagram Jul 3, 2021 — lower unit mercruiser parts *outdrive parts drawing 1 to 43 sterndrive.info ... yt_6699] alpha one mercruiser engine diagram download diagram .... MerCruiser Repair Manuals. 1991 mercruiser alpha sterndrive 5.7l manual pdf; 1993 alpha one gen 2 outdrive diagram pdf;. 1993 mercruiser alpha one 3.0 .... Volvo Penta Sx Parts Diagram - Automotive Parts Diagram Images Description: Volvo Penta / Omc Cobra Sx Omc Parts Drawing regarding Volvo Penta Sx Parts Diagram, image size 598 X 743 px, and to view image details please click the image.. Actually, we also have been realized that volvo penta sx parts diagram is being just about the most popular subject right now. So we tried to find some great volvo penta sx parts diagram image for you.
Used OMC Cobra Parts - Green Bay Prop We have tons of 1980s and 1990s OMC Cobra Sterndrive parts especially 1988 OMC Cobra parts. We have all of the OMC Cobra Engine Parts like water pumps, omc shift cables, OMC cobra lower units, and complete OMC Cobra Engines. Do it yourself OMC Service! We stock OMC Cobra Service Manuals and Complete OMC Cobra outdrive for sale. OMC Cobra Sterndrive Tech Info - h a s t i n g s . o r g OMC and Volvo have agreed to supply parts to each other, but OMC has left the sterndrive business. OMC continues to purchase SX and DP drives for boats produced by OMC subsidiary companies. OMC went bankrupt in December 2000. Bombardier has purchased the outboard business and the Evinrude and Johnson brandnames. Marine Engine Depot. OMC 1986-1990 Cobra Lower Unit Seal ... OMC 1986-1990 Cobra Lower Unit Seal Kit Replaces 985612. Be the first to review this product. $29.37. OMC Cobra Lower Unit Seal Kit for 1986-1990 Cobra 2.3-3.0L 4-cyl, 85-130 Hp. Replaces: OMC 985612 and Sierra 18-2671. PDF 12 -62 STERN DRIVE COBRA AND COBRA - Discount Marine 12 -66 STERN-COBRA AND COBRA Fig. 242 A good look at the lower steeringsupport (except King Cobra) To install: 14. Coat the outer surface of a new lower pivot bearing with clean engine a and it into the bore on the bottom of the rina. Use the removal tool and drive it into the bore from the bottom of the 15.
Volvo Penta Outdrive Parts Diagram | Automotive Parts ... Description: Omc Parts Drawings * Outdrive Repair Help * Videos with Volvo Penta Outdrive Parts Diagram, image size 560 X 736 px, and to view image details please click the image.. Actually, we also have been noticed that volvo penta outdrive parts diagram is being just about the most popular topic right now. So we attempted to find some terrific volvo penta outdrive parts diagram picture for you. OMC Cobra - obparts.com 1986-1993 Cobra. Complete Sterndrives. Upper Drives. Lower Drives. Transom / Gimbal Parts. New Aftermarket Parts. Didn't find the Sterndrive Part you needed? We have many additional parts in our warehouse. Please contact us directly to let us do a custom search for the part you need. SE109 (Replaces OMC Cobra Sterndrive Lower (1986-1993) Details. Replaces 1986-1993 Cobra Lower. Dog Clutch Lower Unit (Shifts in the lower) Does not replace King Cobra or Joint Venture. Does not replace 4cyl. units with 4 1/4" bullet diameter case. Standard Rotation. Uses the 1-1/4 propshaft so you will need a new thrust washer for the prop. PDF OMC 2012 CatalogColor TOC - glmmarine.com OMC Stringer Lower Gear Housing Parts (1985 & Older)Section 7 OMC Stringer Upper Gear Housing Parts (1985 & Older)Section 6 OMC Cobra Replacement Sterndrives (1986-1993)Section 2 OMC Cobra Upper Gear Housing Parts (1986-1993)Section 3 Cobra SX Replacement Sterndrives (1994 & Up)Section 1
SE109 OMC Cobra Sterndrive Lower | MacombMarineParts.com ... SE109 (Replaces OMC Cobra Sterndrive Lower (1986-1993) Replaces 1986-1993 Cobra Lower Dog Clutch Lower Unit (Shifts in the lower) Does not replace King Cobra or Joint Venture Does not replace 4cyl. units with 4 1/4" bullet diameter case Standard Rotation Uses the 1-1/4 propshaft so you will need a new thrust washer for the prop.
Stern Drive Parts: OMC Stern Drive Parts: Lower Upper Unit ... 983495 OMC Stringer Stern Drive Upper Unit Exhaust Housing 1984-85 0983495. GB584117071. $79.99. View Details.
OMC Cobra - All American Drive Service Standard OMC Cobra 2.3L, 3.0L, 4.3L, 5.0L, 5.7L, 5.8L Produced 1986 – 1993. OEM parts are readily available for these units. Built properly, these units will last for the life of the boat. The main issue with the shift dog clutch units is the shift cable maintenance. All the cables manufactured, stretched and caused shifting and adjustment ...
OMC Cobra Sterndrive Parts - wholesalemarine.com List Price: $2.49. Starting At: Now: $1.99. Sierra 18-2945-9 Drain Screw Gasket (2 pack) This Sierra 18-2945 Drain Screw Gasket is used with 3/8-16 drain/fill screw found on all Mercruiser and most Mercury/Mariner O/Bs. This gasket is used in most lower units and sea water pumps.
OMC Sterndrive - Cobra Lower Units - My Blog | My ... Remanufactured OMC Cobra Lower Units Gearcases and Repair Prices. Replaces OMC #987800. 90 day warranty with full technical phone support. Housing comes sandblasted, primed and finished with original color paint (OMC Cobra charcoal metallic) Assembled with all new parts - including OEM gear set #987670. Updated shift detent installed.
Amazon.com: omc king cobra parts Sierra 18-2683 Lower Unit Seal Kit for OMC King Cobra (1990) 4.8 out of 5 stars 23. $29.25 $ 29. 25. Get it as soon as Fri, Feb 11. FREE Shipping by Amazon. Only 16 left in stock - order soon. MarMax Performance Impeller Service Repair Kit OMC King Cobra Sterndrive Replaces 3854072 3854661.
![Lower Unit Assembly Kit, OMC Cobra 1.86 [GLM28860] - $1,899.00 : ebasicpower.com, Marine Engine Parts | Fishing Tackle | Basic Power Industries](https://bpi.ebasicpower.com/mm5/graphics/00000001/GLM28860.jpg)
Lower Unit Assembly Kit, OMC Cobra 1.86 [GLM28860] - $1,899.00 : ebasicpower.com, Marine Engine Parts | Fishing Tackle | Basic Power Industries
OMC Lower Unit Reference Guide 78-91 - Outboard Lower Unit Sterndrive Replacement Part Number and Quick Reference Guide and Application Outboard. Marine OMC, Johnson, Evinrude. Find your model and year. ALSO REFER TO NOTES 1 TO 21. NOTES FROM 1 TO 21. 1 = Hydro Shift. 12 = STD RATIO HIGH ALTITUDE 13/26 NOT AVAILABLE. 2 = Needs 1991 & NEWER PROP TRUST WASHER. 13 = SHAFT N/A FOR OE 342250 22.5″ 60 ...
Mastertech OMC STERN DRIVEand COBRA GEARCASES OMC Cobra Models are hydraulically tilted and have the water pump in the upper gear housing; Cobra SX models are likewise hydraulically tilted but were manufactured starting with the 1994 model year and have a belt-driven seawater pump on the motor. Volvo Penta acquired sole manufacturing control of these in 1998 and OMC was then completely out ...
OMC parts *Exploded view drawings *Outdrive repair help video Jan 20, 2022 · Please note: the true King Cobra lower unit should only be used for the 7.4L (454) and 7.5L (460) motors. For the 5.7L (350) and 5.8L (351) motors, use the standard OMC Cobra lower unit gear-case parts.
OMC Cobra parts drawings - YouTube OMC Cobra exploded view parts drawings mechanics performing their own outdrive work. Please see our web site for parts ...
PDF Volvo penta sx outdrive parts diagram Volvo penta sx outdrive parts diagram OMC Cobra outdrive parts drawings *Sterndrive tools GLM Marine Aftermarket OMC CobraSterndrive Parts and Outdrive Tools GLM Marine outdrive parts that are cost-effective and competitive 2 year warranty: Search by number or description here Click on Pictures for OMC Cobra Parts Upper Gearcase Exploded View Lower Unit Exploded View
How do I disassemble my OMC Cobra lower unit - YouTube Please see for tech support and exploded view drawing.Video includes the following:• Disassemble my OMC Cobra ...
GLM Marine Aftermarket OMC Cobra Sterndrive Parts and ... King Cobra: trim / tilt cylinder used, gimbal bearing, water pump, lower unit, upper gears, lower gear sets, anodes, bolts, exhaust bellows, u-joint bellows, water pump adapter, plastic-metal shims Lower unit : stern drive anode, drive shaft, pinion bearings, forward - reverse gears, pinion gear, shims, propeller shaft
88 OMC Cobra Water Pump (Impeller) Flow From Housing This is an OMC Cobra outdrive. I took this video to show the water flow from the lower unit to the water pump / impeller housing without the engine running. This is an OMC Cobra outdrive.
omc 2.3l ford cobra stern drive diagram - Wiring Diagram Line omc 2.3l ford cobra stern drive diagram Wiring Diagram Line Wiring Diagram. omc 2.3l ford cobra stern drive diagram Wiring Diagram Line Wiring Diagram ... Omc stern drive transom mount parts for 1990 3 0l 302amrpwc clymer cobra 1986 1993 boat engine repair manual lower unit assembly kit 1 86 glm28860 899 00 ebasicpower com marine fishing tackle ...
0 Response to "35 omc cobra lower unit diagram"
Post a Comment