Iklan 300x250

38 Craftsman Snowblower Carburetor Diagram

Craftsman Snowblower Carburetor Repair - YouTube Shoot clogging up try this (It works!) Add a snowblower fuel shut offhttp://amzn.to/2eEGJ2T Add an electric star... 42 craftsman snowblower parts diagram - Wiring Diagram Trend Craftsman Snowblower Carburetor Diagram. A snowblower carburetor is responsible for maintaining and combining the air Make the necessary adjustment to set the desired engine idle-speed of your. This article will teach you the process of repairing or rebuilding the carburetor in a snowblower. If it snows a whole lot where you live, you may find ...

MTD 165-WU 179cc Engine Parts Diagram for 165-WU Carburetor MTD 165-WU 179cc Engine 165-WU Carburetor Exploded View parts lookup by model. Complete exploded views of all the major manufacturers. It is EASY and FREE

Craftsman snowblower carburetor diagram

Craftsman snowblower carburetor diagram

MTD 1P65BU Engine Parts Diagram for 1P65BU Carburetor MTD 1P65BU Engine Parts Diagram for 1P65BU Carburetor. Order Status. Get Support. 1-877-737-2787. Hours of Operation. M-F 9AM-6PM ET. Sat 9AM-5PM ET. Contact Us ». Name. Craftsman Snowblower Parts | Fast Shipping ... Craftsman Snowblower parts that fit, straight from the manufacturer. Use our interactive diagrams, accessories, and expert repair help to fix your Craftsman Snowblower . Please note shipping times may be longer than expected due to carrier delays. 877-346-4814. Departments ... Craftsman snowblower parts | Sears PartsDirect A carburetor rebuild kit has the seals, gaskets and other parts you need to rebuild the carburetor. Use the carburetor rebuild kit for the carburetor on your engine. Sometimes, it's easier to replace the entire carburetor rather than rebuilding it. Sears PartsDirect has the snow blower parts you need to keep your Craftsman snowblower running ...

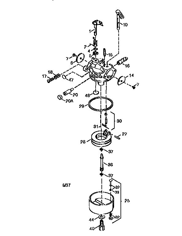
Craftsman snowblower carburetor diagram. Craftsman snowblower carburetor repair manual - United ... 2017-9-18 · Craftsman Snowblower Manual 944 covers the 27 two stage self propelled snow blower that has a 4 cycle engine. Refer to the Craftsman Snowblower Manual 944 for all the information to assemble the snow thrower, parts diagram, and repair parts numbers for snow blower and engine parts. Manual also includes troubleshooting tips , such ... craftsman snowblower models - animatelab.com Free shipping. With the craftsman snowblower model. Craftsman 88694 26" 208cc DualStage ZeroTurn . CMXGZAM501080. Craftsman Snowblower Model 247.889704 Parts are easily labeled on this page to help you find the correct component for your repair. Craftsman Snowblower Carburetor Diagram. This Snowblower Really does the Job! Why does my snowblower surge? - FindAnyAnswer.com The carburetor might be clogged. A clogged carburetor is most commonly caused by leaving fuel in the snowblower for a long period of time. This sticky fuel can clog up the carburetor and cause the engine to stall. If the carburetor is clogged, try cleaning it with carburetor cleaner. How to Fix an Old Snowblower | Craftsman Snowblower ... Whether your old snowblower needs maintenance or you are looking to purchase a used snowblower, these craftsman snowblower maintenance tips will help you fix an old snowblower. From changing the engine oil to replacing the pull cord to changing the carburetor, these detailed steps and pictures provide many repair tips.

Craftsman Snowblower Carburetor Diagram - schematron.org Craftsman Snowblower Carburetor Diagram 12.09.2018 1 Comments A snowblower carburetor is responsible for maintaining and combining the air Make the necessary adjustment to set the desired engine idle-speed of your. This article will teach you the process of repairing or rebuilding the carburetor in a snowblower. Craftsman Snowblower Disassembly - Snowblower Repair Help ... Repairing a Craftsman snowblower? This video demonstrates the proper and safe way to disassemble a snowblower and how to access parts that may need to be tes... SER FAQ: LMFAQ: Cleaning Craftsman (Tecumseh) carburetors Cleaning Craftsman (Tecumseh) carburetors Simple float carburetors are found on a variety of equipment including many engines made for Sears by Tecumseh. The basic procedures applies to the float carburetors of other manufacturers as well. If you have been following the recommended preventive maintenance procedures, this may never be needed. diagram for fuel line routing craftsman blower/vac model ... diagram for fuel line routing craftsman blower/vac model 358.797770. Report This by richard foresee. January 27th, 2015 ... from the fuel tank to the carburetor. One line goes from the fuel tank to the primer bulb, from the primer bulb to the carburetor, and back to the fuel tank. ... Snowblower attachment for Craftsman Yard Tractor Model 917 ...

servicing craftsman snowblower - zevaastras.com Departments . 1-800-269-2609 24/7. If the repair or service will exceed $350, we will provide an estimate. To provide faster turnaround time, we ask you to approve service and repair charges up to $350, excluding delivery and pickup. Snowblower Craftsman 8/26 $200 cash. Craftsman Snow Blowers & Snow Throwers Parts with Diagrams ... Craftsman Snow Blowers & Snow Throwers Parts Lookup & Diagrams Craftsman Snow Blowers & Snow Throwers ( 387 Models ) 247.116830 (31A-2M5E799) - Craftsman Snow Thrower (2011) Find the Manual for Your Craftsman Snowblower Here Simply search by the make and model of your snowblower to find the right manual. If you don't know the model number, don't worry - you can scroll through the list of Craftsman snowblower manuals and see the manual covers at a glance, which typically show a picture of the snowblower and some of the basic specs. Toro 521 Snowblower Carburetor Diagram | vincegray2014 Toro 252 Valve Diagram. Craftsman Snowblower Diagram. Toro Ss5000 Drive Belt Routing Diagram. Toro Timecutter Ss5000 Drive Belt Diagram. John Deere L120 Snowblower Belt Diagram. Echo Srm 225 Carburetor Diagram. Stihl Fs 80 Carburetor Diagram. Polaris Rzr 170 Carburetor Diagram. 2003 Kfx 400 Carburetor Diagram.

How to remove carburetor on a craftsman snow thrower

How to remove carburetor on a craftsman snow thrower

Craftsman Eager 1 Lawn Mower Carburetor Diagram Craftsman Eager 1 carburetor diagram. Does not look like a Briggs or Tecumseh carburetor. Can it be a Kohler. - Toro Lawn Mower With Toro. I have a Sears Craftsman Eager 1, hp, 22 inch self propelled lawn I found the area of the problem with the lawn mower. . Do not get carburetor cleaner on the new seat as it can make the needle stick to the seat.

Craftsman 24

Craftsman 24" Snowblower | 247889571 | eReplacementParts.com

Amazon.com: craftsman snowblower parts Pro Chaser 247.889571 Carburetor Replaces Craftsman 247.889701 247.886910 247.887200 247.889571 247.88955 247.881720 Snow Blower Fits MTD 270-QU 952Z265-SUA ZS365-SUA Engine Huayi 170SA 170SB Carb. 4.6 out of 5 stars. 318. $20.55. $20. . 55. Get it as soon as Fri, Feb 18. FREE Shipping on orders over $25 shipped by Amazon.

Poulan CRAFTSMAN 358.351162 Gas Chain Saw Parts Diagram for ...

Poulan CRAFTSMAN 358.351162 Gas Chain Saw Parts Diagram for ...

craftsman snow blower carburator and linkage diagram ... The carburetor in this diagram is key number 89, and the link is key number 20. Thanks for choosing Sears and you have a nice day! -Melody by ... Snowblower attachment for Craftsman Yard Tractor Model 917.270712. 6 answers. Popular Products in Craftsman Exclusives. Craftsman 12 in. Tool Tote-Red.

Briggs and Stratton Power Products 1430-0 - 580.768310, 2,100 ...

Briggs and Stratton Power Products 1430-0 - 580.768310, 2,100 ...

Craftsman 247.881732 (31AS6BEE799) - Craftsman Snow ... 270-WU Carburetor diagram and repair parts lookup for Craftsman 247.881732 (31AS6BEE799) - Craftsman Snow Thrower (2015) Weather Notice: Shipments may be delayed due to inclement weather. The Right Parts, Shipped Fast!

Craftsman Snowblower Carburetor Repair

Craftsman Snowblower Carburetor Repair

Craftsman Snowblower Carburetor Diagram - wiringall.com Craftsman Snowblower Carburetor Diagram. They also provide manuals and parts diagrams for almost every model equipment I located the craftsman snowblower carburetor housing. This article will teach you the process of repairing or rebuilding the carburetor in a snowblower. How do I access the carburetor on my Craftsman 24" Snow Thrower.

Craftsman 536888400 gas snowblower parts | Sears PartsDirect

Craftsman 536888400 gas snowblower parts | Sears PartsDirect

How to rebuild a snowblower carburetor | Repair guide If the engine won't start or shut offs just after starting, then the carburetor could be the problem. Rebuild the carburetor with manufacturer-approved snowblower replacement parts using the steps in this guide. Use these basic steps to rebuild the carburetor on Craftsman, MTD, Troybilt, Husqvarna, Toro, Murray, Noma and Snapper snowblowers.

MTD 31AS58TF799 (247.886940) (2015) Parts Diagrams

MTD 31AS58TF799 (247.886940) (2015) Parts Diagrams

Craftsman Snowblower Diagram - looking for craftsman model ... Here are a number of highest rated Craftsman Snowblower Diagram pictures upon internet. We identified it from trustworthy source. Its submitted by presidency in the best field. We undertake this nice of Craftsman Snowblower Diagram graphic could possibly be the most trending subject subsequently we allowance it in google lead or facebook.

MTD Snowblower Engine Carburetor Replacement #951-12704A

MTD Snowblower Engine Carburetor Replacement #951-12704A

Craftsman Snow Blower - Model 31AS6BEE793 | MTD Parts Find parts for your Craftsman SB410 24" Two-Stage Snow Blower CMXGBAM1054541. Parts diagrams and manuals available. Free shipping on parts orders over $45.

Craftsman Snowblower Carb Access

Craftsman Snowblower Carb Access

Top 10 Briggs And Stratton Nikki Carburetor Parts Diagram ... Package Includes: 1x Carburetor, 2x Mounting Gaskets, 1x Accessary Kit; 591378 Carburetor Replacement for Briggs & Stratton Snowblower 796321 696132 696133 796322 697351 699958 699966 698455 695918 694952 695919 695330 796323 695920 695328

Lawn Mower Carburetor Repair | Briggs & Stratton

Lawn Mower Carburetor Repair | Briggs & Stratton

Craftsman Snowblower Carburetor Replacement Parts | Fast ... Craftsman Snowblower Carburetor Repair KitGenuine OEM Part # 498260 | RC Item # 1567909. Briggs & Stratton Original Equipment 498260 Carburetor Overhaul Kit. If the carburetor is clogged, the engine won't get enough fuel. As a result, the engine may not start or may run poorly. Carburetor needle & seat kit. Comes with installation instructions.

CRAFTSMAN 536.887990 OPERATOR'S MANUAL Pdf Download | ManualsLib

CRAFTSMAN 536.887990 OPERATOR'S MANUAL Pdf Download | ManualsLib

Craftsman Snowblower Replacement Parts - Repair Clinic Craftsman Snowblower Carburetor Repair Kit. Genuine OEM Part # 631021B | RC Item # 1606506. Watch Video. $6.75. ADD TO CART. Tecumseh carburetor repair kit. If the carburetor is clogged, the engine won't get enough fuel. As a result, the engine may not start or may run poorly.

How to rebuild a snowblower carburetor | Repair guide

How to rebuild a snowblower carburetor | Repair guide

Craftsman snowblower parts | Sears PartsDirect A carburetor rebuild kit has the seals, gaskets and other parts you need to rebuild the carburetor. Use the carburetor rebuild kit for the carburetor on your engine. Sometimes, it's easier to replace the entire carburetor rather than rebuilding it. Sears PartsDirect has the snow blower parts you need to keep your Craftsman snowblower running ...

Pro Chaser Carburetor for Craftsman 247.888550 247.88790 247.888160  247.886941 247.881900 247.888530 247.888540 247.88370.0 247.88890  247.888500 ...

Pro Chaser Carburetor for Craftsman 247.888550 247.88790 247.888160 247.886941 247.881900 247.888530 247.888540 247.88370.0 247.88890 247.888500 ...

Craftsman Snowblower Parts | Fast Shipping ... Craftsman Snowblower parts that fit, straight from the manufacturer. Use our interactive diagrams, accessories, and expert repair help to fix your Craftsman Snowblower . Please note shipping times may be longer than expected due to carrier delays. 877-346-4814. Departments ...

Craftsman by MTD 31AS62EE799 (247.889571) (2010) Snow Blower ...

Craftsman by MTD 31AS62EE799 (247.889571) (2010) Snow Blower ...

MTD 1P65BU Engine Parts Diagram for 1P65BU Carburetor MTD 1P65BU Engine Parts Diagram for 1P65BU Carburetor. Order Status. Get Support. 1-877-737-2787. Hours of Operation. M-F 9AM-6PM ET. Sat 9AM-5PM ET. Contact Us ». Name.

Small Engines - » Tecumseh Governor setups

Small Engines - » Tecumseh Governor setups

Details about Carburetor for Craftsman 5HP 22

Details about Carburetor for Craftsman 5HP 22" Snow Blower 24788700 247.88700 1995

Sears Craftsman snow blower at least 20 years old MOD. C950 ...

Sears Craftsman snow blower at least 20 years old MOD. C950 ...

MTD 31AS63EE799 (247.881731) (2015) Parts Diagram for 270-SUA ...

MTD 31AS63EE799 (247.881731) (2015) Parts Diagram for 270-SUA ...

Carburetor Kit For Tecumseh 8 10 HP MTD/Snapper/Ariens 824 ...

Carburetor Kit For Tecumseh 8 10 HP MTD/Snapper/Ariens 824 ...

craftsman 10/32 tracked snow blower carburetor carb | eBay

craftsman 10/32 tracked snow blower carburetor carb | eBay

Snow Blower Only Running On Full Choke? It's Probably Your ...

Snow Blower Only Running On Full Choke? It's Probably Your ...

Craftsman Snow Blower User Manual - Manuals+

Craftsman Snow Blower User Manual - Manuals+

Craftsman 536.885213 User manual | Manualzz

Craftsman 536.885213 User manual | Manualzz

How to Fix a Snow Blower Carburetor

How to Fix a Snow Blower Carburetor

9hp Craftsman Snowblower Post Carb Install Adjustment Needed ...

9hp Craftsman Snowblower Post Carb Install Adjustment Needed ...

Pin on wiring diagram

Pin on wiring diagram

CRAFTSMAN 247.885550 OWNER'S MANUAL Pdf Download | ManualsLib

CRAFTSMAN 247.885550 OWNER'S MANUAL Pdf Download | ManualsLib

Murray 536.881501 - Craftsman Single Stage Snow Thrower (2005 ...

Murray 536.881501 - Craftsman Single Stage Snow Thrower (2005 ...

Details about Craftsman 247886940 247.886940 26'' Snowblower Snow Thrower  Carburetor Carb

Details about Craftsman 247886940 247.886940 26'' Snowblower Snow Thrower Carburetor Carb

Tecumseh Series 3 Carb Snowblower Linkage

Tecumseh Series 3 Carb Snowblower Linkage

Tecumseh Carburetor Diagram,Tecumseh Carb Diagram | Tecumseh ...

Tecumseh Carburetor Diagram,Tecumseh Carb Diagram | Tecumseh ...

Craftsman by MTD 31AS6BEE799 (247.881732) (2015) Snow Blower ...

Craftsman by MTD 31AS6BEE799 (247.881732) (2015) Snow Blower ...

AISEN Carburetor for Craftsman 26

AISEN Carburetor for Craftsman 26" 170S 170SA Snowblower Troy-Bilt 5024 208cc OHV Engine Fuel Filter Primer Bulb Gasket

HS50 hunting/surging - governor adjustment help? | Snowblower ...

HS50 hunting/surging - governor adjustment help? | Snowblower ...

Tecumseh Series 3 Carb Snowblower Linkage

Tecumseh Series 3 Carb Snowblower Linkage

How to rebuild a snowblower carburetor | Repair guide

How to rebuild a snowblower carburetor | Repair guide

Lumix GC Gasket Carburetor for Craftsman 536.885211 5HP 21'' Snow Thrower  Blower

Lumix GC Gasket Carburetor for Craftsman 536.885211 5HP 21'' Snow Thrower Blower

How to rebuild a snowblower carburetor | Repair guide

How to rebuild a snowblower carburetor | Repair guide

0 Response to "38 Craftsman Snowblower Carburetor Diagram"

Post a Comment

Iklan Atas Artikel

Iklan Tengah Artikel 1

Iklan Tengah Artikel 2

Iklan Bawah Artikel