35 john deere d140 wiring diagram
John deere d140 wiring diagram. Snow blade 46 117m. A wiring diagram is a simplified traditional photographic representation of an electrical circuit. Both text and no-text labels are. Actually we have been noticed that john deere d140 parts diagram is being just about the most popular subject right now. John Deere D100, D110, D120, D130, D140, D150, D160, D170 Tractors Technical Manual (TM113219) John Deere X115R, X135R, X155R, 92H, 107H Lawn Tractors Diagnostic and Repair Technical Manual (TM113419) John Deere A3 M-Gator Technical Manual (TM115719)
John Deere D110 Wiring Diagram. Find the latest features and pricing on the John Deere E Lawn Tractor with 42 -in. Deck. Cleaning Air Intake Screen and Engine Fins · Checking and Cleaning Air Cleaner Elements (D and D) · Checking and Cleaning Air Cleaner Elements. I made sure that every wire was clean making a good connection at the connector.

John deere d140 wiring diagram
John Deere D140 - Tractor, Lawn And Garden Parts Catalog Manual Pdf Download This manual may contain attachments and optional equipment that are not available in your area. Please consult your local distributor for those items you may require. Materials and specifications are subject to change without notice. WARNING: Unsafe Use of this machine may […] John Deere D105, D110, D120, D130, D140, D160, D170 Operators Manual.pdf John Deere 120C and 160CLC Excavator Operators Manual.pdf John Deere 3032E, 3038E ROPS Cab Operator Manual.pdf John deere d140 belt diagram. Belts, secondary deck drive (1). Does anyone know if there is a way to adjust the belt tension or a fix to this. Does anyone have a john deere 160 deck belt diagram that they can send me a piece broke on mine and i can make it. Such mowers are too complicated i think. John deere wiring schematic diagrams.pdf.
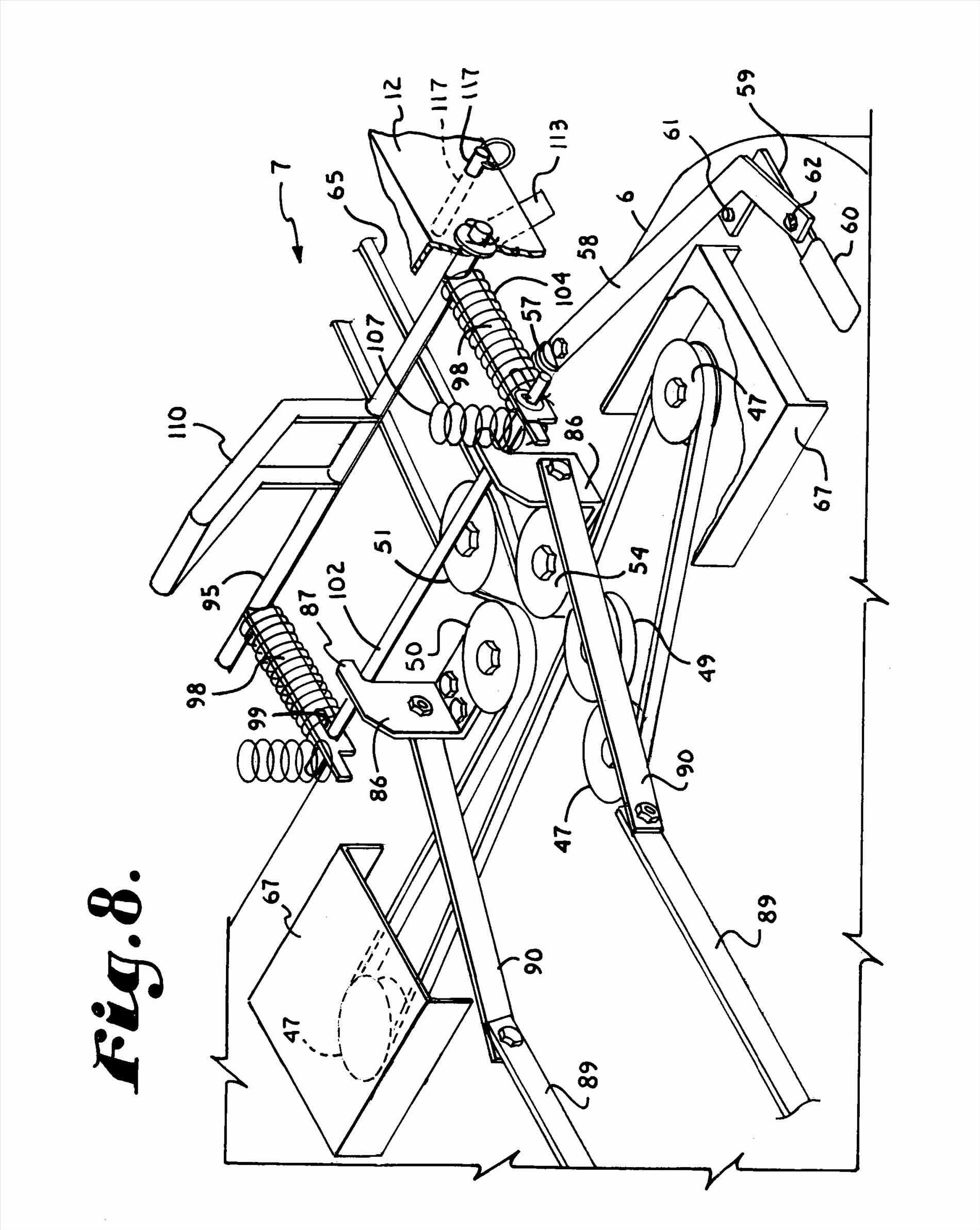
John deere d140 wiring diagram. John Deere D140 Lawn Tractor 1Fits D140 tractor PIN ending in 100001-400000, California XXXXXX-040000 2 Fits D140 tractor PIN ending in 400001-XXXXXX, California 040001-XXXXXX 6. 3. 5. 7. 1. 2. Service Intervals Parts and Maintenance Information John Deere Parts Diagrams, John Deere D140 100 Series Tractor. Blade, 46 inch. Electrical. Engine ETN161946. Fuel And Air. Labels and Optional Equipment. John Deere AG, Lawn & Garden and CWP Equipment Parts Search. John Deere parts lookup tool and diagram is an incredible online source. It is a complete catalog that shows you detailed parts diagrams of every part of your machine. This online parts catalog is robust and easy to use. Searching for your John Deere parts online has never been easier. Read Book Belt Diagram For John Deere D140 Belt Diagram For John Deere D140 When people should go to the ebook stores, search initiation by shop, shelf by shelf, it is in reality problematic. This is why we give the books compilations in this website. It will categorically ease you to see guide belt diagram for john deere d140 as you such as.
140 john deere wiring diagram. Jump to Latest Follow 1 - 6 of 6 Posts. B. Bigrigs93 · Banned. Joined Jul 14, 2009 · 3 Posts . Discussion Starter · #1 · Jul 15, 2009. Does any one have a wiring diagram for a john deere 140that has a cigarette lighter in it. ... Help support my channel by using the link. Ad https://www.amazon.com/shop/omfishing#I made sure that every wire was clean making a good connection at the c... John Deere 48-inch & 54-inch Tractor Grass Groomer Striping Kit - LP1002. (3) $129.99. Usually available. Add to Cart. Quick View. John Deere 6.5-bushel Bagger Hopper and Chute for 100 Series with 48-inch Mower - BUC10286. (0) $439.77. Description: John Deere D140 Lawn Tractor Parts with regard to John Deere D140 Parts Diagram, image size 410 X 410 px, and to view image details please click the image.. Actually, we have been noticed that john deere d140 parts diagram is being just about the most popular subject right now. So that we tried to uncover some terrific john deere d140 parts diagram photo for you.
1972 Jd 140 H3 Wiring Diagram Weekend Freedom Machines. John Deere D100 D110 D120 D130 D140 Service Manual Pdf. Tm113219 John Deere D100 D105 D110 D120 D125 D130 D140 D150 D155 D160 And D170 Lawn Tractors Diagnostic La Series Riding Equip Manual Technical Manuals. John Deere 70 Wiring Diagram Or Picture Of Ignition Switch Weekend Freedom Machines. 1945 John Deere Wiring Diagram - Trusted Wiring Diagrams • - John Deere Ignition Switch Wiring Diagram. Wiring Diagram will come with several easy to stick to Wiring Diagram Instructions. It's supposed to help all of the common consumer in developing a proper program. These guidelines will be easy to comprehend and implement. John Deere D100, D110, D130, D140 models OEM technical manual in PDF format is written for an experienced technician and contains sections that help to repair, assemble/disassemble and diagnose the tractor and its engine. 1. spare part catalogues 2. repair manuals & instructions 3. wiring diagrams 4. hardware and software for diagnostics ... John Deere D140 Parts. The John Deere D140 was produced from 2011 to current and came equipped with a hydrostatic drive transmission, 48" Mower Deck and 22hp Briggs Engine. Regular Maintenance should be performed on the D140 every 50 hours and should include Spark Plug, Air Filter, Oil Filter with 2qts oil and sharpen or replace mower blades.
John Deere 48" Deck Parts for D140, D150, D155, D160 Lawn Tractors with Heat mapped image diagram for easy parts purchasing
Factory Repair Manual For John Deere D100, D110, D120, D130, D140, D150, D160, D170 Tractors. Illustrations, instructions, diagrams for step by step remove and install, assembly and disassembly, service, inspection, repair, troubleshooting, tune-ups. Immediately after payment you will receive a Manual with a high-quality PDF to your email address.
John Deere D140 Wiring Diagram 02.11.2018 6 Comments This link will send you to the illustrated parts list on the john deere site. It shows the belt routing in the part diagram. Hope this solves your. D, D, D, D, D, D, D and D John Deere Tractors Checking and Cleaning Air Cleaner Elements (D, D and D).
I am unsure if that's the wiring diagram for the John Deere D140, model year 2011. I can't make out all the numbers or diagram. But I did have a faulty seat switch that I wired around. The engine starts and drives forward and reverse with no problem. It's the PTO switch that I'm now looking onto and tracing its wiring. tomboy
Amazon.com : Outdoor Power Xtreme Equipment X0424-K PTO Clutch W/Wire Harness Repair Kit Compatible with/Replacement for John Deere 145 155C 190C 92H D140 D150 D155 GY20108 GY20652 GY20878 GY21340 GY20108 GY20652 : Patio, Lawn & Garden
John Deere Parts Lookup -John Deere-D140 100 Series Tractor Material Collection System -PC10445
Illustrated Factory Technical Manual for John Deere Lawn Tractors Models D100, D105, D110, D120, D125, D130, D140, D150, D155, D160, and D170 This manual contains high quality images, circuit diagrams, instructions to help you to maintenance, troubleshooting, diagnostic, and repair your truck. This document is printable, without restrictions ...
Diagram For John Deere D140Belt Diagram For John Deere D140 If you ally obsession such a referred belt diagram for john deere d140 book that will have the funds for you worth, acquire the enormously best seller from us currently from several preferred authors. If you want to comical books, lots of novels, tale, jokes, and more fictions collections
X540 John Deere Fuse Box - Wiring Diagram Data Oreo - John Deere Wiring Diagram Download. Wiring Diagram arrives with numerous easy to stick to Wiring Diagram Instructions. It really is supposed to help each of the common person in developing a suitable method. These guidelines will be easy to comprehend and use.
John deere d140 belt diagram. Belts, secondary deck drive (1). Does anyone know if there is a way to adjust the belt tension or a fix to this. Does anyone have a john deere 160 deck belt diagram that they can send me a piece broke on mine and i can make it. Such mowers are too complicated i think. John deere wiring schematic diagrams.pdf.
John Deere D105, D110, D120, D130, D140, D160, D170 Operators Manual.pdf John Deere 120C and 160CLC Excavator Operators Manual.pdf John Deere 3032E, 3038E ROPS Cab Operator Manual.pdf
âOcean is more ancient than the mountains, and freighted with the memories and the dreams of Time.â â H. P. Lovecraft.
John Deere D140 - Tractor, Lawn And Garden Parts Catalog Manual Pdf Download This manual may contain attachments and optional equipment that are not available in your area. Please consult your local distributor for those items you may require. Materials and specifications are subject to change without notice. WARNING: Unsafe Use of this machine may […]
0 Response to "35 john deere d140 wiring diagram"
Post a Comment