34 yamaha big bear 350 carburetor diagram
The Yamaha Big Bear 350 goes down in history as Yamaha's first 4×4 vehicle. Enthusiasts saw the quad as Yamaha's reply to the Honda 's FourTrax 350 4×4 - the world's first 4×4 ATV. It featured a BST34 Mikuni carburetor, a large oil-cooler, a dual-range 10-speed transmission, and Torque Control Differential (TCD). The Yamaha YFM350FWW 1989 BIG BEAR parts-list contains one thousand two hundred fifty-six parts. forty-nine Other page parts fiche for YFM350FWW 1989 BIG BEAR. YFM350FWW 1989 BIG BEAR schematics are for your convenience and can be accessed anytime FOC.
manual and service book for a 2003 yamaha Big bear 400 4×4; reinstall the bottom part of carburetor into a yamaha BigBear 400; schematic diagram of the carburetor on. Shop online for OEM Carburetor parts that fit your 2002 Yamaha BIG BEAR 400 4WD (YFM400FP), search all our OEM Parts or call at 800.359.0567.

Yamaha big bear 350 carburetor diagram
Shop online for OEM Carburetor parts that fit your 1992 Yamaha BIG BEAR 4WD (YFM350FWD_), search all our OEM Parts or call at (972) 445-0825 Navigate your 1995 Yamaha Big Bear 350 4WD YFM350FWG CARBURETOR schematics below to shop OEM parts by detailed schematic diagrams offered for every assembly on your machine. OEM is an acronym for original equipment manufacturer, which means that the 1995 Yamaha Big Bear 350 4WD YFM350FWG CARBURETOR OEM parts offered at BikeBandit.com are ... Yamaha Wr 400 426 F Service Repair Manual 2000 2001 2002 Multi Hundreds of illustrations u0026amp; wiring diagram ... THE BEST 96-99 Yamaha Big Bear 350 2x4 Service Manual THE BEST 99-04 Yamaha Bear Tracker 250 ATV Service Manual
Yamaha big bear 350 carburetor diagram. Jan 11, 2018 · Here is a picture gallery about yamaha big bear parts diagram complete with the description of the image, please find the image you need. A Yamaha Big Bear carburetor helps it to remain in peak condition, and also helps to maintain engine health, while it goes about the many rugged undertakings its owners might require of it. 95 Yamaha Big Bear 350 Cdi Wiring Diagram Elegant Yamaha Warrior 350 Check the wiring where it comes out of the side cover on engine mine was same way and it was bare wires there. Joined Sep 3, 2012 Messages 255 I am going to install the stock carb and see if there is any. We aren't one of those mainstream one stop shops. Description: Carb Adjustment For Hmf - Yamaha Grizzly Atv Forum with Yamaha Big Bear Parts Diagram, image size 580 X 801 px, and to view image details please click the image.. Here is a picture gallery about yamaha big bear parts diagram complete with the description of the image, please find the image you need. 2001 Yamaha Warrior 350 Carburetor Diagram. Niche Industries PWK Style Yamaha Carburetor - Warrior, Wolverine and Big Bear. Next?Share Yamaha, ATV, WARRIOR (YFMXNC), Yamaha. Yamaha Warrior YFM35XN CARBURETOR Parts at wiringall.com Open and Print this schematic Link to this schematic Home Full Page. New CARBURETOR CARB For Yamaha Warrior YFM YFM ...
Description: Carb Adjustment For Hmf – Yamaha Grizzly Atv Forum with Yamaha Big Bear Parts Diagram, image size X px, and to view image details please click the image.. Here is a picture gallery about yamaha big bear parts diagram complete with the description of the image, please find the image you need.Adjusting The Carburetor - Yamaha BIG ... In this video we are cleaning and rebuilding a Yamaha Big Bear 350 Carburetor.Oil: https://amzn.to/3nMn4BBIntake Boot: https://amzn.to/399R46mCarb Kit: ht... Buy OEM Parts for Yamaha ATV 1991 Carburetor Diagram. ... Yamaha BIG BEAR 4WD - YFM350FWB Carburetor Diagram. Yamaha. Catalog · Yamaha · ATV · 1991 ... Yamaha BIG BEAR 4WD - YFM350FWBK Carburetor Diagram. Catalog; Yamaha; ATV; 1998; BIG BEAR 4WD - YFM350FWBK; Carburetor; Check Availability. Select your address # Description Price Qty; 0: CARBURETOR ASSEMBLY 1 | U49 4WU-14901-00-00 Unavailable : 0: NEEDLE SET | U49 4WU-1490J-00-00
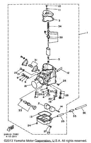
Repair Kit for MK BSR 33mm Carburetor Rebuild Kits with Diaphragm Yamaha Big Bear Bruin MK-BSR33 Product Description & Features: Fits for 2000-2004 Yamaha Big Read more Mikuni Super BN SBN Carb Rebuild Kit Jet Ski 38 44 46 Seadoo Yamaha 451460 Yamaha Parts Diagrams. Click on Diagram Thumbnail to see. expanded view. We stock hundreds of bearings and seals for many models. email us if you don't see your ATV: YFM50 Raptor 04-08, YFM80 Badger 92-01. YFM80 Grizzly 06-08, YFM80 Raptor 02-08. YFM100 Champ 89-91. For 1997-1999 Yamaha Big Bear 350 ATV and 1999-2004 Yamaha Bear Tracker 250 ATV applications where the OEM BSR34 Mikuni Carburetor is used. This kit includes critical Genuine Mikuni parts including the needle valve, fuel screw assembly, side diaphragm, and other related items to return your carb to its original condition. Navigate your 1989 Yamaha Big Bear 350 YFM350FWW CARBURETOR schematics below to shop OEM parts by detailed schematic diagrams offered for every assembly on your machine. OEM is an acronym for original equipment manufacturer, which means that the 1989 Yamaha Big Bear 350 YFM350FWW CARBURETOR OEM parts offered at BikeBandit.com are genuine Yamaha ...
Carburetor Carb for ATV Yamaha 2000-2006 Kodiak 400 YFM400 & Big Bear 400, 2004-2006 Bruin 350, 2007-2011 Grizzly 350, 2007-2012 Grizzly 450, 2006-2009 Wolverine 350, 2007-2010 Wolverine 450 3.9 out of 5 stars 413
Diagrams Shown are for U.S. Models. Yamaha BIG BEAR Manual Online: Adjusting The Carburetor. The carburetor should be checked and, if neces- sary, adjusted at the The adjustment. Yamaha Big Bear 4WD YFM40FT CARBURETOR Parts at BikeBandit. Open and Print this schematic Link to this schematic Home Full Page.Do you know The concept of yamaha big ...
Our Yamaha YFM350 Big Bear Carburetor & Components lineup includes premium ATV products from the biggest names in the game.
For OEM Yamaha Big Bear 350 YFM350 CNC Aluminum Carb Intake Manifold Boot Joint (Fits: Yamaha Big Bear 350) $33.99. Was: $39.99. Free shipping. Yamaha Big Bear 350 Performance Carburetor YFM 350 Yfm350 Atv New Carb 1987-1996 (Fits: Yamaha Big Bear 350) $33.20. Was: $34.95.
Navigate your 1999 Yamaha Big Bear 350 2WD YFM350UL CARBURETOR schematics below to shop OEM parts by detailed schematic diagrams offered for every assembly on your machine. OEM is an acronym for original equipment manufacturer, which means that the 1999 Yamaha Big Bear 350 2WD YFM350UL CARBURETOR OEM parts offered at BikeBandit.com are genuine ...
Discussion Starter · #1 · Aug 18, 2009. leaking gas out of the top tube by the air mixture screw after I removed my carb on an '02 400 Big Bear 4X4 as it was leaking gas out of the bottom drain/overflow tube; so figured it was a stuck float and did not know what else to do (already sprayed and ran gumout through carb).
A Big Bear 350 is an all-terrain vehicle first introduced in 1987 by Yamaha. With the earlier versions as well as the later versions, 1997 and above, there are a handful of problems that riders can and may experience. In most cases, these issues can be fixed by making a few adjustments or performing routine ...
Arctic Cat 350 Schematic - 9 images - 32 yamaha big bear 350 carburetor diagram wiring diagram, yamaha 350 wiring diagram wiring diagram schemas,
2L1-14191-00-00. In Stock. $17.99. $14.19. Add. 23. SCREW,PANHEAD This item has been discontinued and may not be available. Contact us for more information. 98511-04012-00.
We are restoring a 1999 Yamaha Big Bear 350 2x4... In this video we clean the carb on an ATV that has been sitting for years! This ATV had a lot of water in ...
95 Yamaha Big Bear 350 Cdi Wiring Diagram Elegant Yamaha Warrior 350 Check the wiring where it comes out of the side cover on engine mine was same way and it was bare wires there. Easy to install, perfect fit in your motorcycle carburetor.
LKV YFM350 Carburetor Carb Replacement for ATV Yamaha 350 YFM350 Moto-4 1987-1990 & 1992-1995 BIG BEAR 4WD 1987-1996 BIG BEAR 2WD 1996-1998 WARRIOR 1987-2004 WOLVERINE 1995 KODIAK 400 YFM400 4WD. 4.4 out of 5 stars. 39. $47.77.
Submitter Dlempar Submitted 01/04/2022 Category Yamaha ATV. 1987-1998 big bear 350 2wd bogging down. By hunterhudgens11. I have a big bear 350 from somewhere between 1987-1998 that I'm having some issues with. Whenever I get onto the gas quickly it bogs it down and if you don't let off it dies, even when it is warmed up.
Yamaha Wr 400 426 F Service Repair Manual 2000 2001 2002 Multi Hundreds of illustrations u0026amp; wiring diagram ... THE BEST 96-99 Yamaha Big Bear 350 2x4 Service Manual THE BEST 99-04 Yamaha Bear Tracker 250 ATV Service Manual
Navigate your 1995 Yamaha Big Bear 350 4WD YFM350FWG CARBURETOR schematics below to shop OEM parts by detailed schematic diagrams offered for every assembly on your machine. OEM is an acronym for original equipment manufacturer, which means that the 1995 Yamaha Big Bear 350 4WD YFM350FWG CARBURETOR OEM parts offered at BikeBandit.com are ...
Shop online for OEM Carburetor parts that fit your 1992 Yamaha BIG BEAR 4WD (YFM350FWD_), search all our OEM Parts or call at (972) 445-0825
0 Response to "34 yamaha big bear 350 carburetor diagram"
Post a Comment