38 poulan pro pole saw parts diagram
Repairing a Poulan Pro pole pruner? This video demonstrates the proper and safe way to disassemble a pole pruner and how to access parts that may need to be ...
Quality Poulan Pro Pole Pruner Replacement Parts From Repair Clinic. A Poulan Pro 8 bar 25cc pp258tpc, or pr25ps, model pole pruner is the right equipment to reach those heights. Repair Clinic is the right choice for finding all the parts you need to maintain or repair your Poulan Pro pruner.
Search Poulan Pro owner's manuals, illustrated parts lists and more. Cookies help us deliver a better experience. By using this site, you agree to our use of cookies.

Poulan pro pole saw parts diagram
PP 445 - Poulan Pro Pole Saw Parts & Diagrams Parts Lists & Diagrams. Pole Saw. Recommended Parts Show $ $ PP 445 - Poulan Pro Pole Saw > Parts Diagrams (5) Hide . Carburetor Assembly (WT619) 530071565. Carburetor Assembly (WT628) 530071637. Engine Assembly. Handle & Shaft Assembly. Oil Tank & Bar Clamp Assembly ...
Chainsaw Parts and Accessories Chainsaw Parts & Accessories Chainsaw Bars. Find the right replacement bar for your gas powered or battery powered chainsaw or pole saw. Bar and Chain combo kits are also available. No_Results_Product_List ... Connect with us and other Poulan Pro fans. Keep up with Poulan Pro!
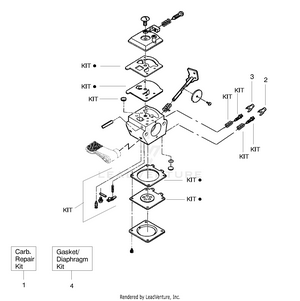
Engine Assembly diagram and repair parts lookup for Poulan Pro PP 446 T - Poulan Pro Pole Saw
Poulan pro pole saw parts diagram.
Parts & Accessories ... Replacement line for your Poulan Pro trimmer. Provides excellent cutting performance. No_Results_Product_List. View large image .080 Trimmer Line - 100' ... Six optional attachments turn your "Pro Link" attachment capable trimmer or pole saw into a versatile tool all year round. Just click and go - no tools required!
Poulan Pro repair parts and parts diagrams for Poulan Pro PP 258 TPC (579218001) - Poulan Pro Pole Saw (2011-10)
PP 446 T - Poulan Pro Pole Saw > Parts Diagrams (4) Hide . Engine Assembly. Handle & Pole Pruner Shaft Assembly. Oil Tank & Bar Clamp Assembly. Trimmer Attachment & Shield Assembly. Attachments For This Model (10) Hide . PP 1000 E - Poulan Pro Weed 'n Edge Edger Attachment, Type 1.
Poulan Pole Pruners/Pole Saws. Poulan Pro Pole Pruners and Pole Saws. Poulan Riding Mowers-Tractors. Poulan Pro Tractors. Poulan Trimmers and Edgers. Poulan Pro Trimmers and Edgers. Poulan Blowers. Poulan Pro Blowers. Poulan Walk Behind Mowers.
The poulan pro pole saw it says above the 8 in chain is discontinued what chain replaces it. Saw mod # Pp258tpc Brian for model number PP258TP asked on 2019-06-24
PP 28 PDT (967288702) - Poulan Pro Pole Saw (2014-09) PP 258 TP - Poulan Pro Pole Saw (Type 1) PP 258 TP - Poulan Pro Pole Saw (Type 2) PP 258 TPC (579218001) - Poulan Pro Pole Saw (2011-10) PP 445 - Poulan Pro Pole Saw. PP 446 - Poulan Pro Pole Saw. PP 446 E - Poulan Pro Pole Saw (Type 1)
The PR25PS pole saw features a 25cc, 2 stroke engine with an 8" bar and a 3' extension for a 12' reach. Included accessories: shoulder strap. Poulan Pro trimmers boast features that ensure there's a unit perfect for every job. Our attachment capable trimmers, with Pro-Link™, are designed to accept 6 optional attachments that make them even more versatile.
The PR28PS pole saw features a 28cc, 2 stroke engine with an 8" bar and a 3' extension for a 12' reach. Included accessories: shoulder strap and trimmer attachment. Poulan Pro trimmers boast features that ensure there's a unit perfect for every job. Our attachment capable trimmers, with Pro-Link™, are designed to accept 6 optional attachments that make them even more versatile.
Poulan Poulan Pro Parts Diagrams 112 Gas Trimmer. 2150LX Gas Saw, Woodsman 2150LX Gas Saw. 222 Gas Saw, PP222 Gas Saw, 222 - Poulan Pro ... PP4018 Poulan Pro Gas Saw Type 1, 4018-Poulan Pro. PP4018 Poulan Pro Gas Saw Type 2. PP415 Gas Saw, 415 Gas Saw ... PP446E Pole Pruner Type 1, 446E - Poulan Pro Gas Pole Pruner Type 1, Pole Pruner. PP446E ...
Poulan PP28PDT - 967288702 (2014-09) Exploded View parts lookup by model. Complete exploded views of all the major manufacturers. It is EASY and FREE
Poulan PP258TP Pole Pruner Type 2 Exploded View parts lookup by model. Complete exploded views of all the major manufacturers. It is EASY and FREE
Consumers who purchase two-stroke gasoline powered Poulan Pro branded handheld products, including: chainsaws, blowers, hedge trimmers, pole saws and trimmers can extend their product warranty from the standard 2 years to a 3 year limited warranty. Read more.
Poulan Pro repair parts and parts diagrams for Poulan Pro PP 28 PDT (967288702) - Poulan Pro Pole Saw (2014-09) Order Status Customer Support 512-288-4355 My Account Login to your PartsTree.com to view your saved list of equipment.
PP 258 TP - Poulan Pro Pole Saw, Type 1. PP 446 E - Poulan Pro Pole Saw, Type 2. PP 258 TP - Poulan Pole Saw, Type 1 (2008-12) PP 446 ET - Poulan Pro Pole Saw, Type 2. SM 446 E - Poulan Pro Pole Saw, Type 2. PPB 5500 P - Poulan Pro Pole Pruner Attachment. PP 5000 P - Poulan Pro Pole Pruner Attachment.
0 Response to "38 poulan pro pole saw parts diagram"
Post a Comment