38 nordyne furnace parts diagram
element rating labels and furnace wiring diagrams. Refer to unit wiring diagram section for wiring of sequencer for each model furnace. Control Transformer (Figure 3) All E2 furnaces are equipped with a 30 VA, 240/208 vac primary, 24 vac secondary transformer. The function of the transformer is to supply the 24 01-0023 Nordyne ROUND RUN CAP 7.5MFD 370V. Can be used to replace (Updated Version) of Nordyne Part#: 621-434, 621-434a, 621434. Learn More
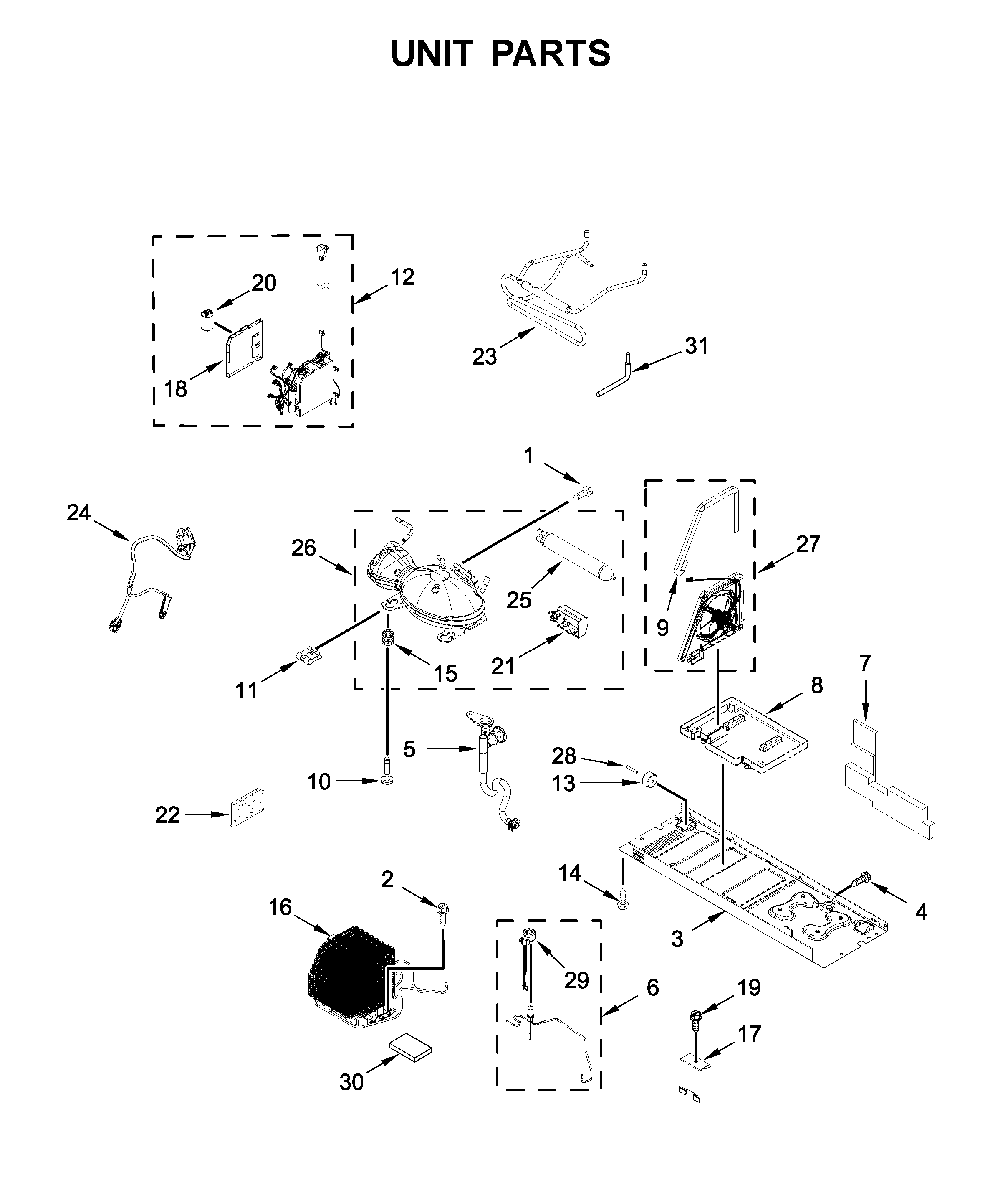
REPLACEMENT PARTS LIST *L and *G Series 78+, 80+ and 90+ Models *G6RA and G6TA 80+Upflow/Horizontal *G6RK 80+Downflow *L1RA 78+Upflow/Horizontal ... Residential 78+ Upflow/Horizontal Furnace Model *L1RA 3 28 2 4 9 8 11 27 29 31 30 15 17 7 5 16 6 18 24 ITEM NO. 045C-08 054C-10 054C-12 072C-12

Nordyne furnace parts diagram
Gas and Oil Furnace - Blower and Relay Installation Instructions For NORDYNE Models MG(H,B)A, MM(H,B)A, NORDYNE Furnace Parts I All APPUratIons Coleman Eve. Furnace Part NORDYNE Furnace Parts Wiring Diagram • 5 Wire Heating/Cooling Thermostat Figure 4 4 9. MGHA077 Nordyne Gas Furnace Parts All products All products 1/2 Bore 110-120V 24VAC 5" Diameter 5-1/2" or 5-5/8" Diameter Air Exchanger Analog Auto book Caulk Coleman CW Download Drip Pan Filter clip Fresh Air Manual Nordyne Roof Jack RV Sealant Smart thermostat thermostat Underbelly Ventilaire Results 1 - 48 of 498 — Amazon.com: Nordyne Furnace Parts. ... Direct Replacement for Intertherm Nordyne Miller Furnace 903404 Combustion Air Blower Direct ...
Nordyne furnace parts diagram. Home › M1MB070 Nordyne Gas Furnace Parts M1MB070 Nordyne Gas Furnace Parts All products All products 1/2 Bore 110-120V 24VAC 5" Diameter Air Exchanger Analog ATC Fuse Auto Blower assembly book Caulk Coleman CW Download Drip Pan Fresh Air M1 Manual Nordyne Rheem Roof Jack Round Dual Ruud Sealant Smart thermostat thermostat Underbelly ... ¢708081"⁄ O'Fallon, MO 708081D 708081D (Replaces 708081C) Specifications and illustrations subject to change without notice and without incurring obligations. Printed in U.S.A. (10/04) Nordyne Furnace Wiring Diagram Collection. nordyne furnace wiring diagram - What's Wiring Diagram? A wiring diagram is a kind of schematic which utilizes abstract pictorial icons to show all the affiliations of components in a system. Electrical wiring diagrams are made up of two things: signs that represent the parts in the circuit, as well… Nordyne Furnace Model M7RL 060A BW Parts. Nordyne Furnace Model M7RL 060A BW Parts are easily labeled on this page to help you find the correct component for your repair. Filter results by category, title and symptom. You can also view diagrams and manuals, review common problems that may help answer your questions, watch related videos, read insightful articles or use our repair help guide to ...
Nordyne M1MB070 furnace parts - manufacturer-approved parts for a proper fit every time! We also have installation guides, diagrams and manuals to help you along the way! Click here to view a parts listing for the MGHA070 which includes partial wiring diagrams that we currently have available. Nortek Global HVAC is a subsidiary of Nortek, Inc.- a company founded in 1967, and headquartered inProvidence, Rhode Island. We are a part of a team of companies that delivers groundbreaking, smart technology and home comfort solutions to people worldwide - from residential air quality products to smart home automation equipment. Aluminum Filter Kit 17″ X 23″. $ 30.66. $ 30.66. Add to cart. Categories : Nordyne Miller Intertherm Replacement Parts.
In Stock. $21.95 ea. MILLER-NORDYNE 305313000 CMF80 BLOWER MOTOR 1-SPEED OLD STYLE 1/5HP 1050RPM. Out of Stock. $182.95 ea. models: mgha-056 mgha-066 mgha-070 mgha-075 mgha-090 mgha-90pq mmha-056 mmha-066 mmha-070 mmha-075 mmha-090 Miller / Nordyne Information Forms Parts List, Technical Products Page of Yaun Company Inc. Page of Yaun Company Inc.,Wholesale Distributor for Plumbing, Heating, Air Conditioning, Radiant Heat, Electrical Supplies to the Mechanical and Electrical Trades 621911 Cond Fan Mtr for Miller Heat Pump (Used in Miller Model HP36TIBA036K and other Nordyne, Gibson, Philco and Tappan products.). 621911 Nordyne Heat Pump Condenser Fan Motor 1/4 H.P. condenser fan motor as found in Nordyne Heat Pump Model # JT3BC-036K and others.. Defrost Controls (listed in alphabetical order by brand) ...
To keep a Nordyne furnace maintained at peak condition, you should use only genuine Nordyne replacement parts from Repair Clinic. Our shelves are stocked with everything you need to bring back the heat: flame sensors, igniters, draft inducer fan motors , pressure switches, even transformers and control boards.
Nordyne furnace maintenance tips. On some closet installations, the return air duct venting to your Nordyne furnace may be on the floor, in the door, in the side wall of the closet, or any combination of these locations. Clean the return air duct vent grills regularly to ensure adequate return air flow to the furnace.
Miller/Nordyne All Parts The parts below are listed in sequence by the Nordyne part number. The easiest way to find your part is to use the search box in the upper-right corner of the page. If you are not able to locate your part, call us with your model and serial number of the unit and a description of the part.
nordyne furnace wiring diagram - What's Wiring Diagram? A wiring diagram is a schematic which uses abstract pictorial symbols to demonstrate each of the interconnections of components in the system.
M1 Series Furnaces M1G* Standing Pilot M1M* Hot Surface Ignition M1S* Oil Gun M1B* Gas Gun The M1 Series furnace is designed for all sizes of manu-factured and modular homes. These units incorporate high efficiency, reliability, and low maintenance. Units may be installed free standing in a utility room or en-closed in an alcove or closet.
Intertherm Miller Nordyne Furnace Gas Valve 624583 6244900 6244912 6245830 This is a brand new Robertshaw replacement for Intertherm Miller Nordyne gas valve, part# 624583. The Robertshaw part number is # 720-474. The gas valve has a 1/2" inch inlet and...
models: 1st production september 1990 mgha-056 mgha-066 mgha-070 mgha-090 mgha-90pq mmha-056 mmha-066 mmha-070 mmha-075 mmha-090
NORDYNE is a product-driven indoor comfort systems manufacturer. They differentiate themselves through product innovation, quality and service.
Nordyne Wiring Diagram Electric Furnace Sample. Collection of nordyne wiring diagram electric furnace. A wiring diagram is a simplified standard pictorial representation of an electrical circuit. It shows the parts of the circuit as simplified shapes, and the power and also signal links between the tools. A wiring diagram typically provides details about the family member…
Fwnace Parts NORDYNE Furnace Parts Coleman Evcon Furnace Parts 6. 8. 9. Install the upper relay mounting bracket to the blower and the lower relay mounting bracket to the furnace casing (see Figure 3). Do not completely tighten the screws at this time. The relay mounting brackets and screws are found with the relay box.
Maintain and protect your HVAC systems with our wide range of Nordyne parts and accessories, including motors, valves, and capacitors. [pool1] Nordyne Parts; Nordyne Parts. Nordyne's quality replacement parts cover a huge scope of applications and are sure to get the job done.
M2RC Upflow Replacement Parts List ...................................................................... 4. M2RC Exploded View.8 pages
ment. Refer to the replacement parts list pro-vided with the furnace for part numbers. OPTIONAL AIR CONDITIONER AND HEAT PUMP Your E3 Series electric furnace is approved for use with an optional central air conditioner or a heat pump. To adapt this heating appliance to a "total comfort system," contact your nearest NORDYNE distributor.
Nordyne Furnace M1GB 090 Installation instructions and owner's manuals (28 pages) 13. Nordyne M1GC 056. Nordyne Furnace M1GC 056 Owner's manual & installation instructions (40 pages) Nordyne Furnace M1GC 056 Installation instructions and owner's manuals (28 pages) 14. Nordyne M1GC 070.
Miller Nordyne CMF Mobile Home Furnace Parts Foam Door Filter. 4.4 out of 5 stars 173. $11.90 $ 11. 90. Get it as soon as Tue, Nov 30. FREE Shipping. More Buying Choices $11.88 (3 new offers) 903600 Flame Sensor Rod with Wiring Harness Replacement Kit for Nordyne Intertherm Furnace,Replaces for Flame Sensor Part # 632396 Sensing Rod Replacement.
Results 1 - 48 of 498 — Amazon.com: Nordyne Furnace Parts. ... Direct Replacement for Intertherm Nordyne Miller Furnace 903404 Combustion Air Blower Direct ...
MGHA077 Nordyne Gas Furnace Parts All products All products 1/2 Bore 110-120V 24VAC 5" Diameter 5-1/2" or 5-5/8" Diameter Air Exchanger Analog Auto book Caulk Coleman CW Download Drip Pan Filter clip Fresh Air Manual Nordyne Roof Jack RV Sealant Smart thermostat thermostat Underbelly Ventilaire
Gas and Oil Furnace - Blower and Relay Installation Instructions For NORDYNE Models MG(H,B)A, MM(H,B)A, NORDYNE Furnace Parts I All APPUratIons Coleman Eve. Furnace Part NORDYNE Furnace Parts Wiring Diagram • 5 Wire Heating/Cooling Thermostat Figure 4 4 9.
0 Response to "38 nordyne furnace parts diagram"
Post a Comment