Iklan 300x250

34 john deere l110 carburetor diagram

John Deere Parts Lookup -John Deere-L110 Lawn Tractor (With 42-IN Mower Deck) Material Collection System -PC9289 ARIMain - WEINGARTZ 855-669-7278

JOHN DEERE WORLDWIDE COMMERCIAL & CONSUMER EQUIPMENT DIVISION DOWNLOAD SERVICE REPAIR MANUAL Lawn Tractors L100, L110, L120, and L130 TM2026 DECEMBER 2002 TECHNICAL MANUAL North American Version Litho in U.S.A.

AISEN Carburetor for John Deere L110 LT133 LT150 LT155 LTR155 L17.542 Scott L17.542HS Sabre Troy Bilt Mower Kohler Engine AM132199 AM132033 Carb 3.9 out of 5 stars 6 1 offer from $17.56

John deere l110 carburetor diagram

John deere l110 carburetor diagram

John Deere L110 Carburetor [ 3 Answers ] I have a John Deere L110 that's about 3 years old and it does not want to run it has little or no power and back fires a lot when it finally does start. I have tried the kohler carburetor rebuild kit with no luck

John Deere L110 Belt Diagram. tightening the belt on a john deere l110 tractor tightening the belt on a john deere l110 tractor this is an easy repair for a slipping or squeaking belt by how to bob john deere l110 deck diagram imageresizertool john deere l110 deck diagram furthermore john deere replacement 42 inch mower deck housing gy further 2chm9 change mower deck belt john deere la140

My John Deere L110 with Kohler 17.5 hp engine (walbro carb) is far too loaded down when you turn the mower deck on, it will "choke down" even in the lightest grass. We have cleaned the carb-the small … read more

John deere l110 carburetor diagram.

Hey ya'll. So I've had my John Deere L110 lawnmower for a few years now and overall it's been pretty reliable. Now one problem I have been having is that the fuel delivery system seems to be a bit faulty somewhere. Usually she'll start right up no problem but if I let her run for a bit and shut her off for a few minutes she won't start back up.

Jeff gets to bottom of why the engine in a John Deere L110 stopped working. For more vids check out our channel, or go to www.sippydownsmowers.com.au.

Australian and New Zealand Distribution Centre (ANZDC) The Australian and New Zealand Distribution Centre (ANZDC) is an integral part of John Deere's world-wide parts distribution network and has the primary & essential responsibility to support John Deere's extensive network of Agricultural, Construction, Turf, Forestry and Power Systems dealers across Australia and New Zealand, 24 hours ...

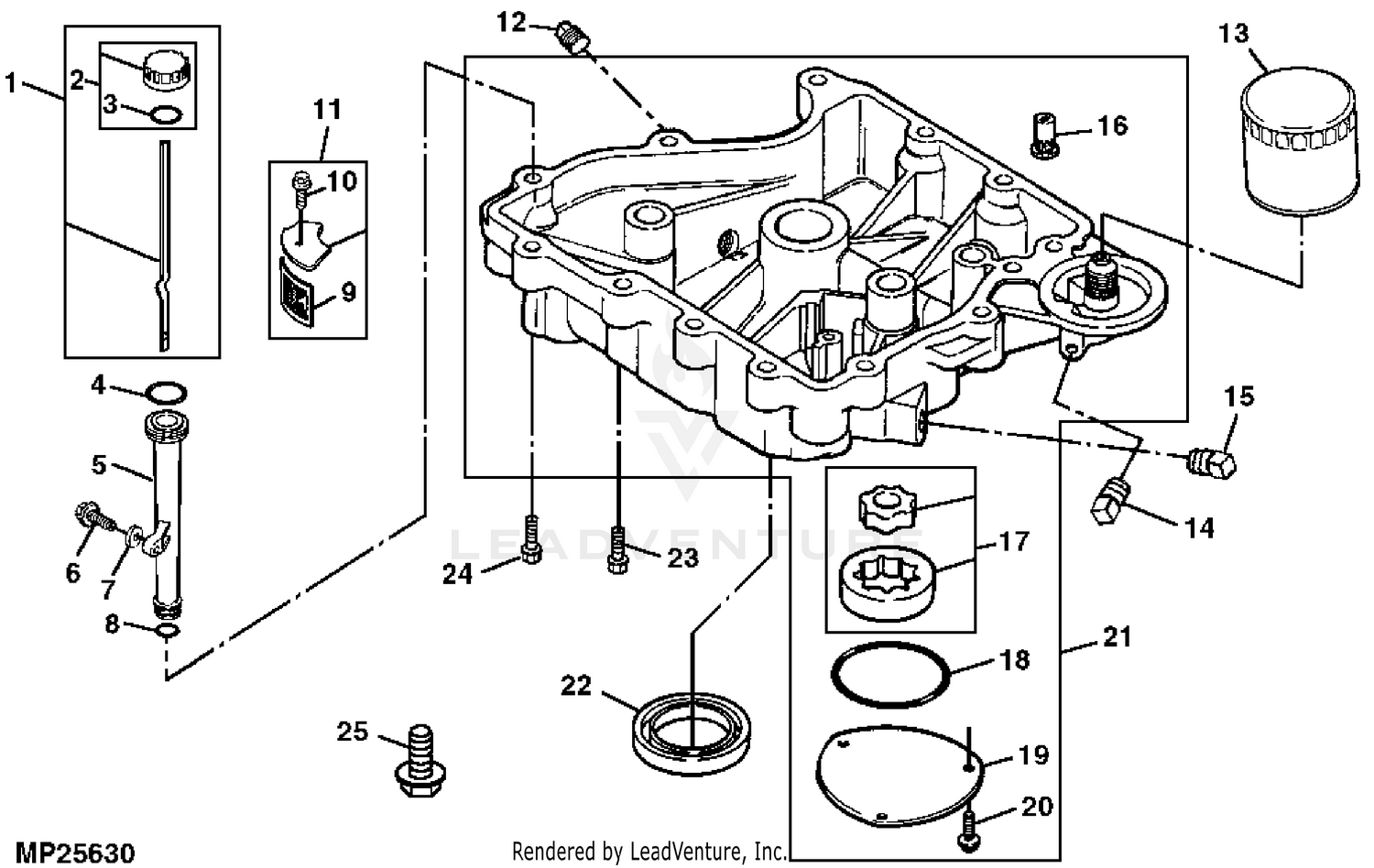
John Deere Model L110 Lawn Tractor Parts - Manufactured years 2003-2004 Product Identification number (serial number) is located on the right side of ... John Deere Carburetor Float Kit - AM107629 (0) $11.05. Usually available. Add to Cart. Quick View. John Deere Carburetor Repair Gasket Set - AM107998 (20) $26.09.

The John Deere L110 is a 2WD lawn tractor from the L100 series. This tractor was manufactured by John Deere from 2003 to 2004. The JD L110 is equipped with a 0.5 L single-cylinder gasoline engine with vertical PTO shaft and belt-driven hydrostatic transmission with infinite forward and reverse gears.

The John Deere L110 was produced from 2003-2004 and came equipped with a Hydrostatic drive transmission, 42" Mower Deck and 17.5hp Briggs Engine. Regular Maintenance should be performed on the L110 every 50 hours and should include Spark Plug, Air Filter, Oil Filter with 1.5qts oil and sharpen or replace mower blades. 30 items.

This manual contains high-quality images, specs and Schematics, actual real photo illustrations, circuit diagrams, and instructions to help you to operate, diagnostic, maintenance, troubleshoot, and repair your John Deere L100, L108, L110, L111, L118, L120, L130 Lawn Tractors. John Deere L100, L108, L110 Service Repair Manual.

John Deere L110 [ 3 Answers ] John deere model L110 Mower was working fine. I got off it to add more gas, when I got back on it would not start. I turn the key and nothing, no clicking, nothing. I disconnected the pressure switch from the seat and still nothing. Mower blades are not engaged. What am I missing, it still...

AISEN Carburetor for John Deere L110 LT133 LT150 LT155 LTR155 L17.542 Scott L17.542HS Sabre Troy Bilt Mower Kohler Engine AM132199 AM132033 Carb. 1.0 out of 5 stars. 1. $17.96.

Buy Genuine OEM John Deere parts for your John Deere L110 Lawn Tractor (With 42-IN Mower Deck) Material Collection System -PC9289 and ship today! Huge in-stock inventory of OEM John Deere parts.

John Deere LA110 Parts. The John Deere LA110 was produced in 2007 and came equipped with a hydrostatic drive transmission, 42" Mower Deck and 19.5hp Briggs Engine. Regular Maintenance should be performed on the LA110 every 50 hours and should include Spark Plug, Air Filter, Oil Filter with 1.5qts oil and sharpen or replace mower blades. 29 items.

Description: John Deere La145 Lawn Tractor Parts pertaining to John Deere L100 Parts Diagram, image size 410 X 410 px, and to view image details please click the image.. Actually, we also have been remarked that john deere l100 parts diagram is being one of the most popular field at this moment. So that we attempted to locate some great john deere l100 parts diagram photo for you.

L110 Gasoline Drip Under Carb

L110 gasoline drip under carb

Description: John Deere La150 Lawn Tractor Parts throughout L110 John Deere Parts Diagram, image size 600 X 600 px, and to view image details please click the image.. Truly, we have been remarked that l110 john deere parts diagram is being one of the most popular issue right now. So that we attempted to find some terrific l110 john deere parts diagram graphic for you.

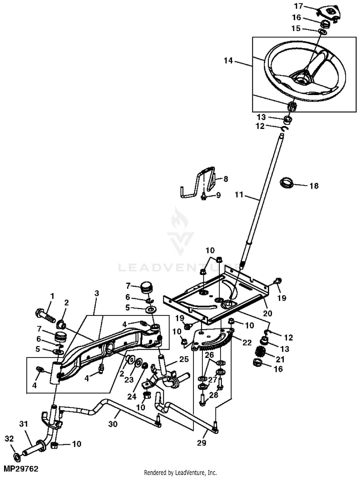
John Deere Parts Diagrams, John Deere L110 Lawn Tractor (With 42 ...

John deere parts diagrams, john deere l110 lawn tractor (with 42 ...

I have a John Deere L110 tractor. I tried to start it for the first time this season but it won't start. The engine would turn over but never start. Someone said it could be that I left the gas in over the winter and now the carborator needs to be cleaned. If so I am looking for info on how to clean or rebuild the carborator.

John Deere 21

John deere 21" lawn mower model 14st kawasaki 5hp - carburetor cleaning part ii - august 24, 2013

John Deere L110 Lawn Tractor Parts 42 Mower Deck Quick Reference Guide. Click the part number below to view and order John Deere L110 Lawn Tractor Parts 42 Mower Deck, or search illustrated diagrams to determine the part you need.

I have a Deere L-108, Was running fine then is started to sputter ...

I have a deere l-108, was running fine then is started to sputter ...

The John Deere L110 garden lawn mower is part of the John Deere L100 series of mowers. Smaller models in the L100 series include the John Deere L100 lawn mower, while the John Deere L120 lawn mower is a larger model in the series. This model (the L110) had just 1 year in production from 2003 until production finished in 2004.

John Deere L100, L108, L110, L111, L118, L120, L130 Tractor Manual

John deere l100, l108, l110, l111, l118, l120, l130 tractor manual

John Deere Carburetor Overhaul Kit - AM133201 (0) $97.21. Usually available. Add to Cart. Quick View. John Deere Cargo Mount Insert - GX21077 (1) $3.93. Usually available. Add to Cart. Quick View. John Deere CargO Mount Single Bucket Holder- LPJD100 (39) $69.99. Usually available. Add to Cart. Quick View.

NEW Carburetor replacement For John Deere Sabre Scotts 1642HS 1742HS S1742  Tractor Lawn Mower part # MIA12412

New carburetor replacement for john deere sabre scotts 1642hs 1742hs s1742 tractor lawn mower part # mia12412

Some useful information I uncovered after changing my fuel line.Big thumbs up to my brother, Terry, who helped me with the repair. He gets a little distract...

I have a Deere lawn tractor L110. My friend borrowed the lawn ...

I have a deere lawn tractor l110. my friend borrowed the lawn ...

John Deere AG, Lawn & Garden and CWP Equipment Parts Search. John Deere parts lookup tool and diagram is an incredible online source. It is a complete catalog that shows you detailed parts diagrams of every part of your machine. This online parts catalog is robust and easy to use. Searching for your John Deere parts online has never been easier.

LX 172 gas leak | My Tractor Forum

Lx 172 gas leak | my tractor forum

John Deere L100, L108, L110, L111, L118, L120, L130 Lawn Tractors Technical Manual (TM2026) John Deere 7610, 7710 and 7810 USA Tractors Diagnosis and Tests Service Manual (TM2030) John Deere 4895 Self-Propelled Hay and Forage Windrower Repair Technical Manual (TM2033)

John Deere L110 Lawn Tractor (With 42-IN Mower Deck) Material ...

John deere l110 lawn tractor (with 42-in mower deck) material ...

Carburetor Carb For Kohler John Deere 42" L110 Lawn Tractor 17-17.5 HP Engines.

John Deere L110 Lawn Tractor (With 42-IN Mower Deck) Material ...

John deere l110 lawn tractor (with 42-in mower deck) material ...

John Deere Parts Diagrams, John Deere 110 LAWN & GARDEN TRACTOR -PC0855. 110 Lawn & Garden Tractor. 110H Lawn & Garden Tractor. AIR CLEANER: TRACTORS,LAWN & GARDEN - 110 AND 110H -100,000. BATTERY & MOTOR-GENERATOR INDICATOR LAMP: TRACTORS,LAWN AND GARDEN - 110 AND 110H -100,000.

John Deere L110 Lawn Tractor (With 42-IN Mower Deck) Material ...

John deere l110 lawn tractor (with 42-in mower deck) material ...

John Deere L110 tractor overview. References: Lawn and Garden Product Information Handbook published in 2003, by John Deere

Carburetor Carb for John Deere L110 lawn mower with 17.5 hp For ...

Carburetor carb for john deere l110 lawn mower with 17.5 hp for ...

JOHN DEERE L110 LAWN GARDEN TRACTOR Service Repair Manual by ...

John deere l110 lawn garden tractor service repair manual by ...

John Deere L100 L110 L120 L130 Technical Manual Lawn Tractors ...

John deere l100 l110 l120 l130 technical manual lawn tractors ...

Pin on John deere

Pin on john deere

Carburetor replacement for John Deere L110 Troy Bilt Mower Engine

Carburetor replacement for john deere l110 troy bilt mower engine

I have a John Deere LA125 lawn tractor that I need linkage diagram ...

I have a john deere la125 lawn tractor that i need linkage diagram ...

John Deere L110 Repair

John deere l110 repair

John Deere L110 Lawn Tractor (With 42-IN Mower Deck) Material ...

John deere l110 lawn tractor (with 42-in mower deck) material ...

John Deere Parts Diagrams, John Deere L110 Lawn Tractor (With 42 ...

John deere parts diagrams, john deere l110 lawn tractor (with 42 ...

CARBURETOR FITS FOR John Deere L110 Troy Bilt Mower For Kohler ...

Carburetor fits for john deere l110 troy bilt mower for kohler ...

Carburetor Carb for John Deere L110 lawn mower with 17.5 hp Kohler engine |  eBay

Carburetor carb for john deere l110 lawn mower with 17.5 hp kohler engine | ebay

Kohler CV491-27509 JOHN DEERE 17 HP (12.7 kW) Parts Diagram for ...

Kohler cv491-27509 john deere 17 hp (12.7 kw) parts diagram for ...

Carburetor For John Deere L110 Automatic Lawn Tractor - Mower ...

Carburetor for john deere l110 automatic lawn tractor - mower ...

AM125355 - Carburetor Kit fits John Deere | AFTERMARKET.SUPPLY

Am125355 - carburetor kit fits john deere | aftermarket.supply

John Deere L110 Lawn Tractor (With 42-IN Mower Deck) 42-IN 2-Stage ...

John deere l110 lawn tractor (with 42-in mower deck) 42-in 2-stage ...

John Deere Parts Diagrams, John Deere L110 Lawn Tractor (With 42 ...

John deere parts diagrams, john deere l110 lawn tractor (with 42 ...

Zreneyfex MIA12509 Carburetor Replacement for John Deere LA125 D110 LA-105  Lawn Riding Mower Intek Carb MIA11474 with Gasket

Zreneyfex mia12509 carburetor replacement for john deere la125 d110 la-105 lawn riding mower intek carb mia11474 with gasket

John Deere L100 L110 L120 L130 Repair Manual [Lawn & Garden ...

John deere l100 l110 l120 l130 repair manual [lawn & garden ...

JOHN DEERE L110 LAWN GARDEN TRACTOR Service Repair Manual by ...

John deere l110 lawn garden tractor service repair manual by ...

JOHN DEERE L110 LAWN GARDEN TRACTOR Service Repair Manual by ...

John deere l110 lawn garden tractor service repair manual by ...

John Deere L100 L110 L120 L130 Repair Manual [Lawn & Garden ...

John deere l100 l110 l120 l130 repair manual [lawn & garden ...

Harbot MIA11520 Carburetor Kit for JD 108 L105 102 115 105 X120 X145 L107  L108 LA125 LA115 LA105 D110 D105 Lawn Tractor MIA12509 MIA11474

Harbot mia11520 carburetor kit for jd 108 l105 102 115 105 x120 x145 l107 l108 la125 la115 la105 d110 d105 lawn tractor mia12509 mia11474

0 Response to "34 john deere l110 carburetor diagram"

Post a Comment

Iklan Atas Artikel

Iklan Tengah Artikel 1

Iklan Tengah Artikel 2

Iklan Bawah Artikel